EasyManua.ls Logo

MaxPower SUNBRIDGE PV6000 - Appendix II: BMS Communication Installation; Introduction; Lithium Battery Communication Configuration

Default Icon
64 pages
Print Icon
To Next Page IconTo Next Page
To Next Page IconTo Next Page
To Previous Page IconTo Previous Page
To Previous Page IconTo Previous Page
Loading...
45
NOTE: Master and slave units are randomly defined. Step 4: Switch on all AC breakers of Line wires in AC input.
It’s better to have all inverters connect to utility at the same time. If not, it will display fault 82 in following-order
inverters. However, these inverters will automatically restart. If detecting AC connection, they will work
normally.
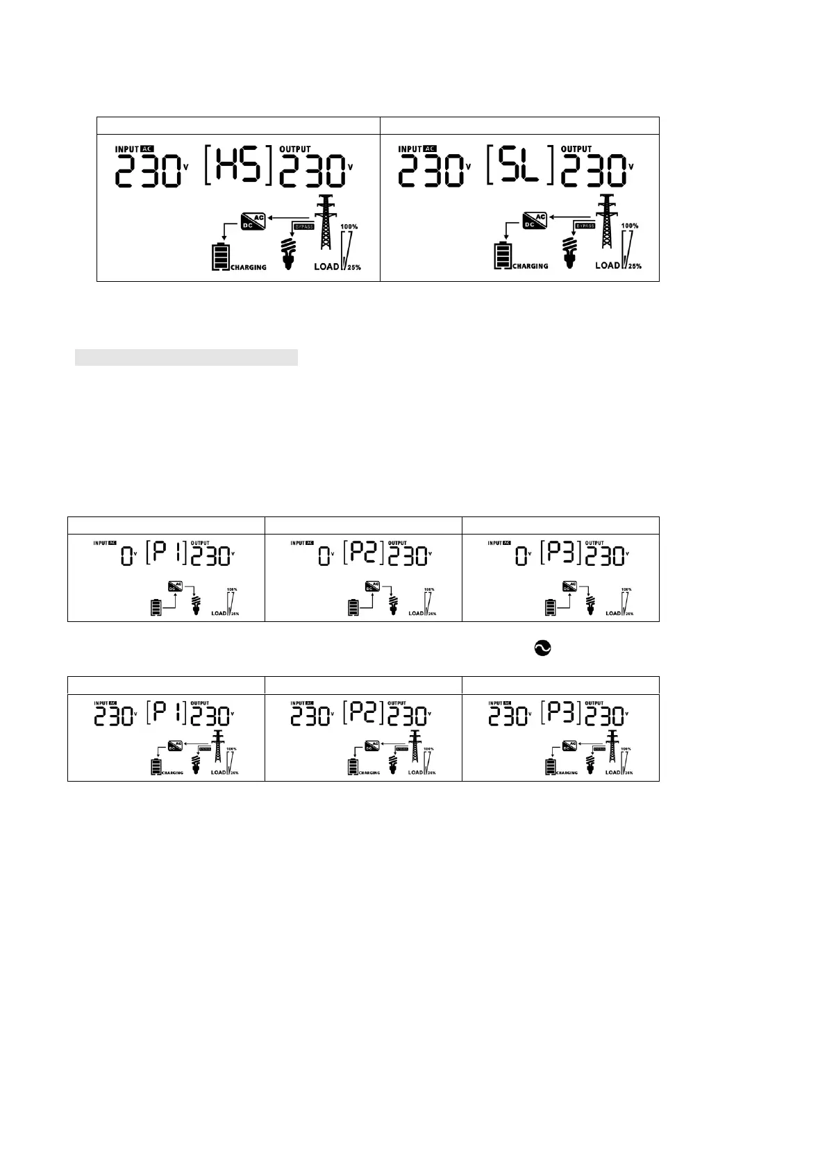
LCD display in Master unit
LCD display in Slave unit
Step 5: If there is no more fault alarm, the parallel system is completely installed.
Step 6: Please switch on all breakers of Line wires in load side. This system will start to provide power to the
load.
Support three-phase equipment
Step 1: Check the following requirements before commissioning:
Correct wire connection
Ensure all breakers in Line wires of load side are open and each Neutral wires of each unit are connected
together.
Step 2: Turn on all units and configure LCD program 28 as P1, P2 and P3 sequentially. And then shut down all
units.
NOET: It’s necessary to turn off switch when setting LCD program. Otherwise, the setting can not be
programmed.
Step 3: Turn on all units sequentially.
LCD display in L1-phase unit
LCD display in L2-phase unit
LCD display in L3-phase unit
Step 4: Switch on all AC breakers of Line wires in AC input. If AC connection is detected and three phases are
matched with unit setting, they will work normally. Otherwise, the AC icon will flash and they will not work
in line mode.
LCD display in L1-phase unit
LCD display in L2-phase unit
LCD display in L3-phase unit
Step 5: If there is no more fault alarm, the system to support 3-phase equipment is completely installed.
Step 6: Please switch on all breakers of Line wires in load side. This system will start to provide power to the
load.
Note 1: To avoid overload occurring, before turning on breakers in load side, it’s better to have whole system in
operation first.
Note 2: Transfer time for this operation exists. Power interruption may happen to critical devices, which cannot
bear transfer time.

Related product manuals