EasyManua.ls Logo

Maxwell MW-3545 W - Page 2

Maxwell MW-3545 W
7 pages
Print Icon
To Next Page IconTo Next Page
To Next Page IconTo Next Page
To Previous Page IconTo Previous Page
To Previous Page IconTo Previous Page
Loading...
те крепёжный винт. На фиксирующее кольцо (3)
установите нижнюю часть передней решётки (1).
Затем, прижимая нижнюю часть передней решёт-
ки (1) к фиксирующему кольцу (3), с обеих сторон
сжимая обе решётки, установите решётку (1) под
фиксирующее кольцо (3). Закрутите крепёжный
винт (4).
•
Вентилятор готов к работе.
ИСПОЛЬЗОВАНИЕ
Перед первым включением убедитесь, что напряжение
в сети соответствует рабочему напряжению прибора.
•
Вставьте вилку сетевого шнура в розетку, при этом
прозвучит звуковой сигнал и на панели управления
(10) загорится световой индикатор (17), указываю-
щий на то, что устройство включено в сеть.
Примечание: каждое нажатие кнопок управления
(21, 22, 23, 24), сопровождается звуковым сигналом.
•
Нажмите кнопку (21) «ON/SPEED», при этом заго-
рится индикатор режима работы (19) «L», прозву-
чит звуковой сигнал, и вентилятор начнет рабо-
тать.
•
Выбор скорости вращения лопастей осущест-
вляется повторным нажатием кнопки (21)
«ON/SPEED»; о выбранной скорости вращения
лопастей информируют световые индикаторы (19):
«L» низкая скорость потока воздуха
«M» средняя скорость потока воздуха
«H» высокая скорость потока воздуха
•
Для включения режима работы вентилятора с
поворотом на 90° нажмите на кнопку (22) «SWING»,
при этом загорится индикатор (18) «SW» .
•
Для остановки режима вращения, повторно
нажмите кнопку (22) «SWING», индикатор (18) «SW»
погаснет.
•
Выбор времени работы таймера автоматического
отключения вентилятора, осуществляется кнопкой
(23) «TIMER» , при этом световые индикаторы (20)
будут информировать об установленном времени.
Вы можете установить время работы вентилятора
от 0,5 часа до 7,5 часов (шаг установки 0,5 часа).
•
Для выключения таймера, повторно нажимайте
кнопку (23) «TIMER» до тех пор, пока все индикато-
ры (20) не погаснут.
•
Для выключения вентилятора нажмите кнопку (24)
«OFF»
•
Вы можете изменить и зафиксировать положение
моторного блока (9) вентилятора в соответствии с
желаемым углом обдува в вертикальной плоскости,
угол наклона вентилятора устанавливается вручную.
Для изменения угла наклона вентилятора ослабьте
регулятор (8), повернув его против часовой стрелки,
установите необходимый угол наклона вентилятора,
а затем закрутите регулятор (8), поворачивая его по
часовой стрелке. Щелчки при наклоне вентилятора
нормальное явление.
Использование пульта дистанционного
управления (25)
Для использования пульта дистанционного управле-
ния (ДУ) (25), откройте крышку батарейного отсека
(31) и вставьте 2 элемента питания типа «AAA» (не
входят в комплект поставки) в батарейный отсек,
строго соблюдая полярность, закройте крышку бата-
рейного отсека (31).
Если устройство не используется продолжительное
время, извлеките элементы питания из батарейного
отсека пульта ДУ(25).
Примечание:
Своевременно меняйте элементы питания в пульте
ДУ (25), во избежание выхода из строя пульта ДУ
(25) не допускайте протекания элементов питания.
Каждое нажатие на кнопки пульта ДУ (25), сопро-
вождается звуковым сигналом.
Функции кнопок на пульте ДУ (25), соответству-
ют функциям кнопок, расположенных на панели
управления (10).
•
Вставьте вилку сетевого шнура в розетку, при этом
на панели управления (10) загорится индикатор
включения в сеть (17).
•
Нажмите кнопку (30) «ON/SPEED» на пульте ДУ
(25), при этом на панели управления (10) загорит-
ся индикатор режима работы (19) «L», прозвучит
звуковой сигнал, и вентилятор начнет работать,
повторным нажатием кнопки (30), Вы можете уста-
новить необходимую скорость вращения лопастей
вентилятора, о выбранной скорости информируют
световые индикаторы (19):
«L» низкая скорость потока воздуха
«M» средняя скорость потока воздуха
«H» высокая скорость потока воздуха.
•
Для выбора режима воздушного потока после-
довательно нажимайте на кнопку (29) «MODE» на
пульте ДУ (25). Возможна работа в трех режимах:
«NORMAL» просто вентиляция; скорость воздуш-
ного потока зависит от выбранного режима кноп-
кой (30) «ON/SPEED».
«NATURE» естественный ветер; режим, имити-
рующий натуральный ветер, интенсивность воз-
душного потока, хаотично меняется: от легкого
дуновения до сильного порыва.
«SLEEP» стихающий ветер; скорость воздушно-
го потока циклически изменяется, непрерывно
нарастая и стихая.
«NORMAL» просто вентиляция; скорость воздуш-
ного потока зависит от выбранного режима кноп-
кой (30) «ON/SPEED».
•
Выбор времени работы таймера автоматическо-
го отключения осуществляется последователь-
ным нажатием на кнопку (29) «TIMER» на пульте
ДУ (25), при этом световые индикаторы (20) на
панели управления (10) будут информировать
об установленной продолжительности времени
работы. Вы можете установить продолжитель-
ность времени работы вентилятора от 0,5 часа
до 7,5часов (шаг установки 0,5часа). Для выклю-
чения таймера, повторно нажимайте кнопку (28)
«TIMER» до тех пор, пока все индикаторы (20)
не погаснут.
•
Для включения режима работы вентилятора с
поворотом на 90° нажмите на пульте ДУ (25) кнопку
(27) «SWING», при этом на панели управления (10)
загорится индикатор (18) «SW» . Для выключения
этой функции или для установки поворота корпуса
в желаемом направлении нажмите на кнопку (27)
«SWING» ещё раз.
•
Для выключения вентилятора нажмите кнопку (24)
«OFF».
УХОД И ОБСЛУЖИВАНИЕ
•
Перед чисткой вентилятора выключите его, нажав
на кнопку (24) «OFF» на панели управления (10) или
кнопку (26) «OFF» пульте ДУ (25) и выньте вилку
сетевого шнура из розетки.
•
Запрещается использовать для чистки устрой-
ства абразивные чистящие средства и раство-
рители.
•
Протирайте моторный блок (9) слегка влажной
тканью, после чего вытрите насухо.
•
Если необходимо почистить лопасти (4), открутите
винт на ободе (3), снимите обод (3), снимите перед-
нюю решетку (1), а затем протрите лопасти слегка
влажной тканью.
•
Установите переднюю решетку (1) и обод (3) на
место.
•
Решётки вентилятора можно почистить при помо-
щи пылесоса, используя соответствующую насадку.
•
Запрещается погружать моторный блок (9) вен-
тилятора в воду или любые другие жидкости.
Во избежание выхода вентилятора из строя и
риска поражения электрическим током следите,
чтобы никакая жидкость не попадала в моторный
блок (9) вентилятора.
Хранение
Отключите вентилятор от сети и произведите его
чистку.
При необходимости разберите вентилятор.
Снимите обод (3), переднюю решетку (1), откру-
тите фиксатор лопастей (2) поворачивая его по
часовой стрелке, снимите лопасти (4), открути-
те гайку крепления задней решётки (5) и снимите
решётку (6).
Открутите фиксатор (11) и снимите моторный блок
(9) с выдвижной штанги (12).
Открутите 4 винта и снимите выдвижную штангу
(12) с опор (15).
Упакуйте вентилятор в заводскую упаковку и убе-
рите на хранение в сухое прохладное место, недо-
ступное для детей.
КОМПЛЕКТ ПОСТАВКИ
Моторный блок вентилятора 1 шт.
Передняя решётка 1 шт.
Фиксирующее кольцо с винтом и гайкой 1 шт.
Фиксатор лопастей 1 шт.
Лопасти 1 шт.
Задняя решётка 1 шт.
Телескопическая штанга с фиксатором и декоратив-
ной накладкой 1 шт.
Опоры 2 шт.
Винт 4 шт.
Пульт дистанционного управления 1 шт.
Инструкция 1 шт.
ТЕХНИЧЕСКИЕ ХАРАКТЕРИСТИКИ
Электропитание: 220-240 В ~50/60 Гц
Максимальная мощность: 40 Вт
Диаметр лопастей: 40 см (16”)
Производитель оставляет за собой право изменять
характеристики устройств без предварительного
уведомления.
Срок службы вентилятора 3 года
Данное изделие соответствует всем требуе-
мым европейским и российским стандартам
безопасности и гигиены.
Изготовитель: Стар Плюс Лимитед, Гонконг
Адрес: оф. 1902-03, Ист Таун Билдинг, 41 Локхарт
Роуд, Ванчай, Гонконг.
Телефон: +8 85225110112
Информация об Импортере указана на индивидуаль-
ной упаковке. Информация об авторизованных (упол-
номоченных) сервисных центрах указана в гарантий-
ном талоне и на сайте www.maxwell-products.ru
Единая справочная служба:
+7 (495) 921-01-70
Сделано в КНР
РУССКИЙ
2 3
ВЕНТИЛЯТОР НАПОЛЬНЫЙ MW-3545 W
Вентилятор предназначен для искусственной венти-
ляции помещений.
Описание
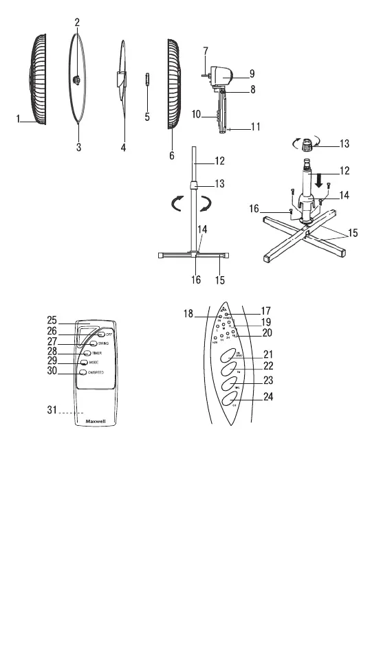
1. Передняя защитная решётка
2. Фиксатор лопастей
3. Фиксирующий обод с винтом и гайкой
4. Лопасти
5. Гайка крепления задней решётки
6. Задняя решётка с ручкой для переноски
7. Ось электромотора
8. Регулятор угла наклона
9. Моторный блок вентилятора
10. Панель управления
11. Фиксатор моторного блока вентилятора
12. Выдвижная штанга
13. Фиксатор выдвижной штанги
14. Декоративная накладка
15. Опоры
16. Крепёжные винты
Панель управления (10)
17. Индикатор включения в сеть
18. Индикатор режима вращения «SW»
19. Индикатор скорости вращения лопастей «L, M,
20. Индикатор времени работы
таймера автоматического отключения
«0,5H/1H/2H/4H»
21. Кнопка включения/выбора скоростного режима
работы «ON/SPEED»
22. Кнопка включения режима вращения «SWING»
23. Кнопка выбора времени работы таймера «TIMER»
24. Кнопка выключения вентилятора «OFF»
Пульт дистанционного управления(25)
26. Кнопка выключения «OFF»
27. Кнопка включения режима вращения «SWING»
28. Кнопка выбора времени работы таймера «TIMER»
29. Кнопка выбора режимов воздушного потока
«MODE»:
«NORMAL» просто вентиляция
«NATURE» естественный ветер
«SLEEP» стихающий ветер
«NORMAL» просто вентиляция
30. Кнопка включения/выбора скоростного режима
работы «ON/SPEED»
31. Крышка батарейного отсека
МЕРЫ БЕЗОПАСНОСТИ
Перед началом эксплуатации электроприбора внима-
тельно прочитайте настоящую инструкцию по эксплу-
атации и сохраните её для использования в качестве
справочного материала.
Используйте устройство только по его прямому
назначению, как изложено в данной инструкции.
Неправильное обращение с устройством может при-
вести к его поломке, причинению вреда пользователю
или его имуществу.
•
Перед первым включением убедитесь в том, что
напряжение электрической сети соответствует
рабочему напряжению устройства.
•
Перед использованием прибора внимательно
осмотрите сетевой шнур и убедитесь в том, что
он не повреждён. Если вы обнаружили поврежде-
ние сетевого шнура, не пользуйтесь устройством.
•
Запрещается использовать вентилятор вне поме-
щений.
•
Устанавливайте устройство на ровной, сухой и
устойчивой поверхности, вдали от источников
тепла или открытого пламени.
•
Не используйте устройство вблизи ёмкостей с
водой, в непосредственной близости от кухонной
раковины, в сырых подвальных помещениях или
рядом с бассейном.
•
Не погружайте вентилятор, сетевой шнур и вилку
сетевого шнура в воду или любые другие жидкости.
•
Не прикасайтесь к корпусу устройства и к вилке
сетевого шнура мокрыми руками.
•
Если вентилятор упал в воду, то прежде чем
достать его из воды, необходимо вынуть вилку
сетевого шнура из электрической розетки, и толь-
ко после этого можно извлечь вентилятор из
воды. Обратитесь в ближайший авторизованный
(уполномоченный) сервисный центр для осмотра
или ремонта вентилятора, по контактным адре-
сам, указанным в гарантийном талоне и на сайте
www.maxwell-products.ru.
•
Не допускайте соприкосновения сетевого шнура
с горячими поверхностями и острыми кромка-
ми мебели.
•
Запрещается включать несобранный вентилятор.
•
Во избежание получения травм или повреждения
устройства запрещается вставлять посторонние
предметы в отверстия защитных решёток вен-
тилятора.
•
Запрещается прикасаться к вращающимся лопа-
стям во время работы вентилятора.
•
Не размещайте вентилятор вблизи штор, занаве-
сок или комнатных растений.
•
Не рекомендуется находиться под потоком воз-
духа от вентилятора в течение продолжительного
периода времени (особенно детям и людям пожи-
лого возраста).
•
Никогда не оставляйте включённое устройство без
присмотра.
•
Отключайте вентилятор от электрической сети
перед чисткой, а также в том случае, если вы не
пользуетесь устройством или перед тем, как пере-
нести его в новое место.
•
Отключая вентилятор от электрической сети, не
тяните за сетевой шнур, а держитесь за вилку
сетевого шнура.
•
Регулярно производите чистку устройства.
•
Осуществляйте надзор за детьми, чтобы не
допустить использования устройства в качестве
игрушки.
•
Из соображений безопасности детей не оставляй-
те полиэтиленовые пакеты, используемые в каче-
стве упаковки, без присмотра.
•
Внимание! Не разрешайте детям играть с полиэ-
тиленовыми пакетами или упаковочной плёнкой.
Опасность удушья!
•
Не разрешайте детям прикасаться к устройству
и к сетевому шнуру во время работы устройства.
•
Данное устройство не предназначено для исполь-
зования лицами ключая детей) с пониженны-
ми физическими, психическими или умственными
способностями или при отсутствии у них опыта или
знаний, если они не находятся под контролем или
не проинструктированы об использовании при-
бора лицом, ответственным за их безопасность.
•
Запрещается использовать вентилятор при
повреждении лопастей, сетевого шнура или вилки
сетевого шнура, если вентилятор работает с пере-
боями, после его падения или иного повреждения.
•
Запрещается самостоятельно ремонтировать при-
бор. Не разбирайте прибор самостоятельно, при
возникновении любых неисправностей, а также
после падения устройства выключите прибор из
розетки и обратитесь в любой авторизованный
(уполномоченный) сервисный центр по контакт-
ным адресам, указанным в гарантийном талоне и
на сайте www.maxwell-products.ru.
•
Перевозите устройство в заводской упаковке.
•
В целях защиты окружающей среды, после окон-
чания срока службы прибора не выбрасывайте
его вместе с бытовыми отходами, передайте при-
бор в специализированный пункт для дальнейшей
утилизации.
•
Храните устройство в сухом прохладном месте,
недоступном для детей и людей с ограниченными
возможностями.
УСТРОЙСТВО ПРЕДНАЗНАЧЕНО ТОЛЬКО ДЛЯ
БЫТОВОГО ИСПОЛЬЗОВАНИЯ
ПЕРЕД ПЕРВЫМ ИСПОЛЬЗОВАНИЕМ
После транспортировки или хранения устройства при
пониженной температуре необходимо выдержать его
при комнатной температуре не менее трёх часов.
Сборка вентилятора
•
Извлеките устройство из упаковки и удалите
любые наклейки, мешающие работе устройства.
•
Проверьте целостность устройства, при наличии
повреждений не пользуйтесь устройством.
•
Установите крестообразно опоры (15), используя
ровную сухую поверхность.
•
Установите на опоры (15) телескопическую штангу
(12) и закрепите её четырьмя крепежными вин-
тами (16).
•
Открутите и снимите фиксатор (13), поворачивая
его против часовой стрелки, установите на теле-
скопическую штангу (12) декоративную накладку
(14). Установите на место фиксатор (13), повернув
его несколько раз по часовой стрелке.
•
Выдвиньте штангу (12) на желаемую высоту и
зафиксируйте её, закрутив с небольшим усили-
ем фиксатор (13), поворачивая его по часовой
стрелке.
•
Установите до упора моторный блок (9) на теле-
скопическую штангу (12) и закрепите его фиксато-
ром (11), не прилагайте значительных усилий при
закручивании фиксатора моторного блока (11).
•
Установите заднюю решётку (6) на моторный
блок (9),совместив направляющие на моторном
блоке (9) с соответствующими отверстиями на
решетке (6). Ручка для переноски, расположенная
на задней решетке (6), должна быть вверху.
•
Закрепите заднюю решетку (6) на моторном блоке
(9) пластиковой гайкой (5), закрутив ее по часовой
стрелке до упора.
•
Установите лопасти (4) на ось электромотора (7),
совместив паз лопастей с фиксатором на оси
электромотора, и закрепите их пластиковым фик-
сатором (2), поворачивая его против часовой
стрелки, придерживая лопасти (4) свободной
рукой.
•
В гнёзда фиксирующего кольца (3) установите
гайку и крепёжный винт.
•
Совместите переднюю решётку (1) и заднюю
решётку (6), скрепите их фиксирующим кольцом
(3), стяните фиксирующее кольцо (3), закрутив
крепёжный винт.
•
Примечание! Для удобства сборки решёток вен-
тилятора, сначала установите фиксирующее коль-
цо (3) на заднюю решётку (6) и слегка подтяни-
IM MW-3545.indd 1 31.10.2016 18:18:57

Related product manuals