EasyManua.ls Logo

Maytag Services MDE5500A Series - Page 7

Default Icon
8 pages
Print Icon
To Next Page IconTo Next Page
To Next Page IconTo Next Page
To Previous Page IconTo Previous Page
To Previous Page IconTo Previous Page
Loading...
September 2006 7 16027056
©2006 Maytag Services
!
WARNING
To avoid risk of electrical shock, personal injury or death; disconnect power to dryer before servicing, unless
testing requires power.
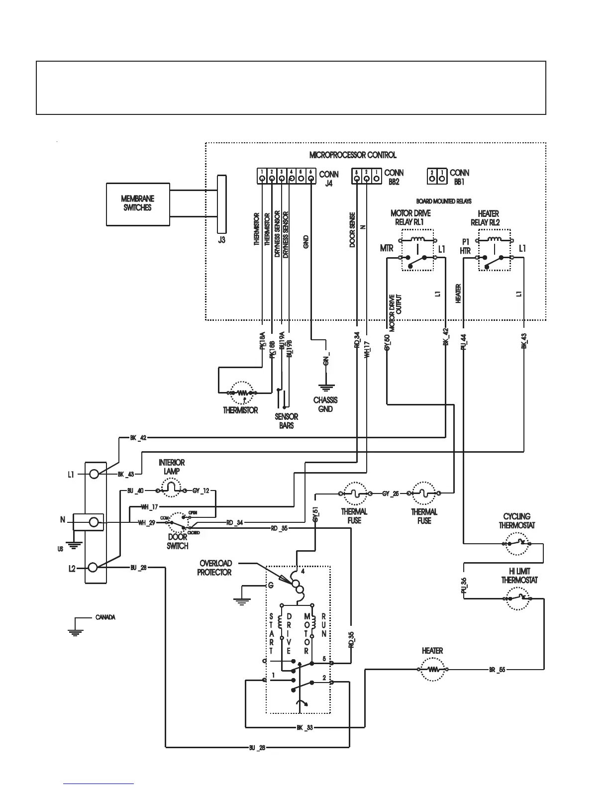
Wiring Schematics
Series 37, 66
63901290