EasyManua.ls Logo

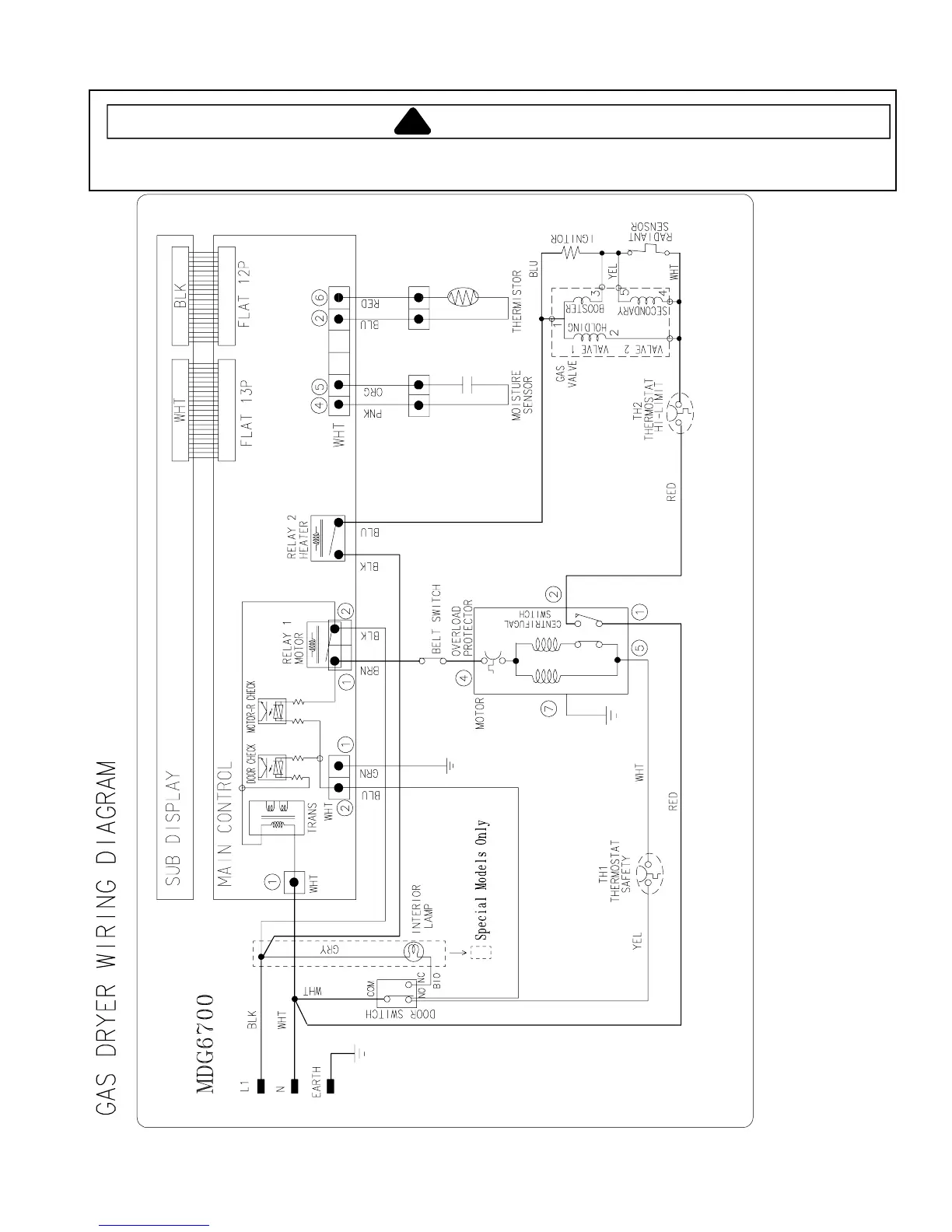
Maytag MDE6700A Series - Gas Dryer Wiring Schematic

Maytag MDE6700A Series
9 pages
Print Icon
To Previous Page IconTo Previous Page
To Previous Page IconTo Previous Page
Loading...
Wiring Schematic
!
WARNING
To avoid risk of electrical shock, personal injury, or death, disconnect power to dryer before servicing, unless
testing requires power.
September 2006 9 16026881
©2006 Maytag Services RPL 16026540

Related product manuals