EasyManua.ls Logo

Mazda 5 - Page 3

Mazda 5
4 pages
Print Icon
To Next Page IconTo Next Page
To Next Page IconTo Next Page
To Previous Page IconTo Previous Page
To Previous Page IconTo Previous Page
Loading...
3 of 4
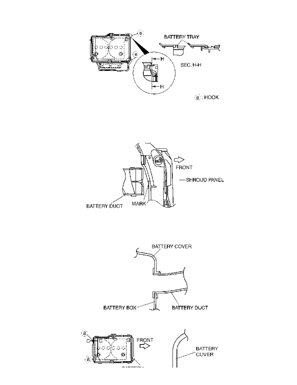
Assemble with battery box hooks E aligned with the battery tray holes at two points.1.
Battery Duct Installation Note
Match the mark of the shroud panel and notch in the battery duct, and install the battery duct to the
shroud panel.
1.
Battery Cover Installation Note
Install the battery duct between the battery cover and the battery box.1.
Install with battery cover hooks A aligned with the battery tray holes at two points.2.

Other manuals for Mazda 5

Related product manuals