EasyManua.ls Logo

Mazda CX-5 2013 - Page 87

Mazda CX-5 2013
223 pages
Print Icon
To Next Page IconTo Next Page
To Next Page IconTo Next Page
To Previous Page IconTo Previous Page
To Previous Page IconTo Previous Page
Loading...
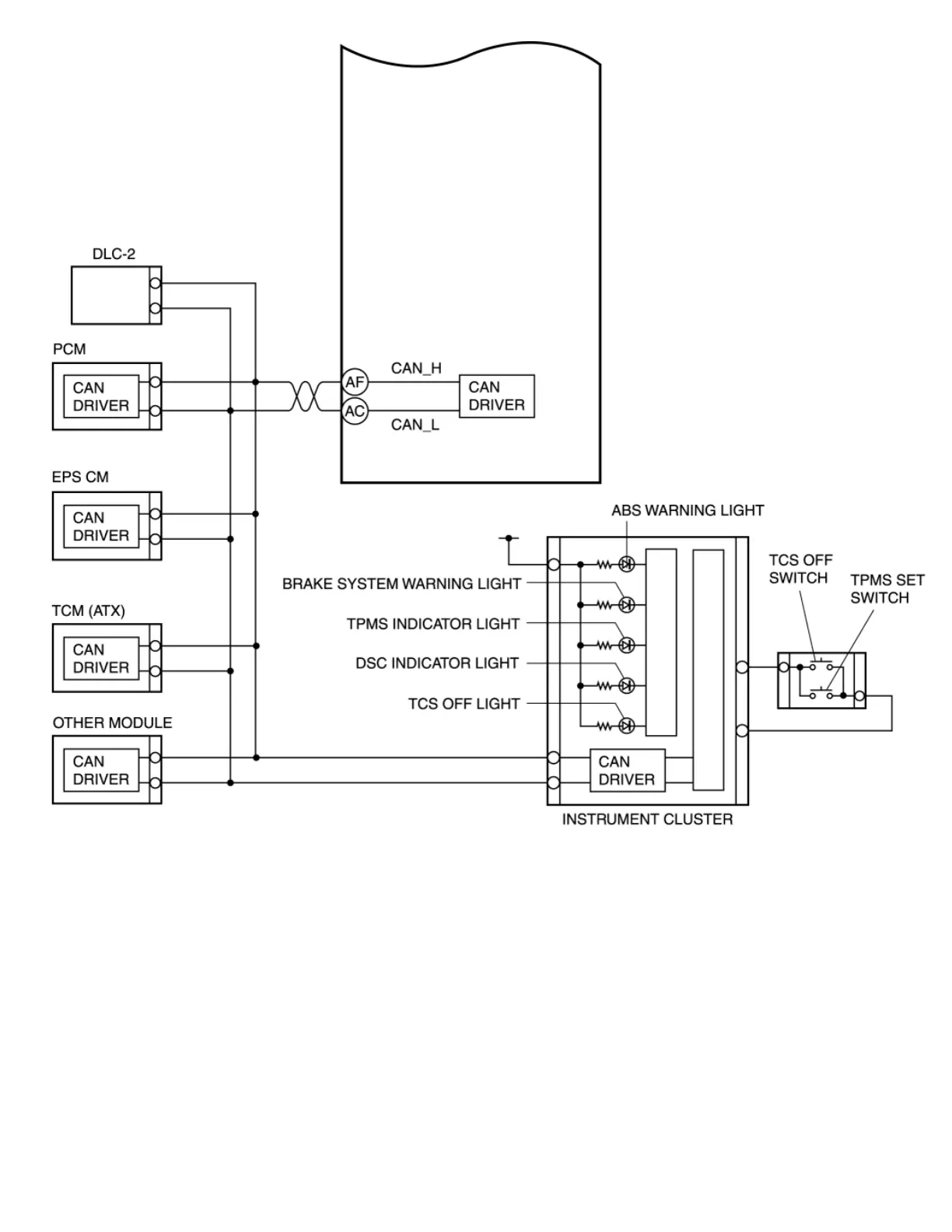
SYSTEM WIRING DIAGRAM [DYNAMIC STABILITY CONTROL (DSC)]
http://am.mazdaserviceinfo.com/emazda/dealersystem/service/esi/en_us/SM/2013/CX5/mv/books/mvw04/html/id0403b2806400.html[1/7/13 9:31:03 AM]
< Previous Next >
Back to Top
© 2012 Mazda North American Operations, U.S.A.