EasyManua.ls Logo

Mazda MX-30 2020 - Page 277

Mazda MX-30 2020
618 pages
Print Icon
To Next Page IconTo Next Page
To Next Page IconTo Next Page
To Previous Page IconTo Previous Page
To Previous Page IconTo Previous Page
Loading...
Operation conditions
The system operates when all of the
following conditions are met:
x
When your vehicle is driven at less
than about 10 km/h (6 mph).
x
The selector lever is in the D
position.
x
When a vehicle approaches from the
front side of your vehicle at a vehicle
speed of about 5 km/h (3 mph) or
faster.
FCTA operation
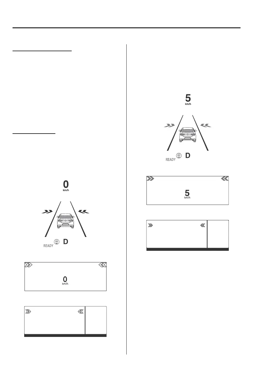
When your vehicle is stopped
When a vehicle is approaching, the
system notifies the driver that a vehicle
is approaching on the following display
(white arrow).
Multi-information display
Active driving display (vehicles with
active driving display)
360°view monitor (vehicles with
360°view monitor)
When your vehicle is being driven
If there is a possibility of a collision
with an approaching vehicle, a warning
indication is displayed on the following
display (amber arrow) and the warning
sound is activated at the same time.
Multi-information display
Active driving display (vehicles with
active driving display)
360°view monitor (vehicles with
360°view monitor)
NOTE
x
The system may operate under the
following conditions even if a vehicle
is not approaching.
x
An object that reflects the radio
waves of the radar such as a
parked vehicle, guardrail, or wall is
directly next to your vehicle.
x
Vehicles are stopped in the area
around your vehicle such as during
heavy trac.
When Driving
i-ACTIVSENSE
4-110

Related product manuals