EasyManua.ls Logo

Mazda RX8 - Page 148

Mazda RX8
443 pages
Print Icon
To Next Page IconTo Next Page
To Next Page IconTo Next Page
To Previous Page IconTo Previous Page
To Previous Page IconTo Previous Page
Loading...
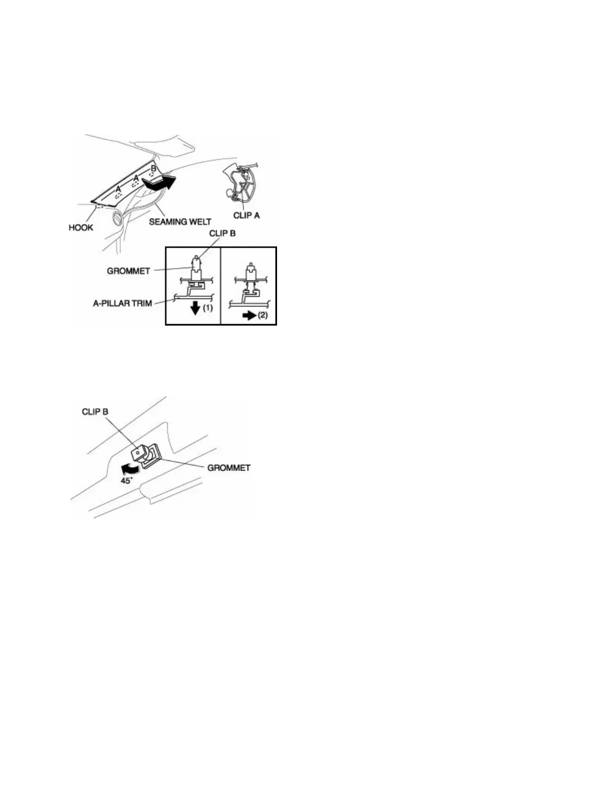
PILLAR TRIM
A-PILLAR TRIM REMOVAL/INSTALLATION
1. Partially peel back the seaming welt.
2. Detach clips A using a fastener remover.
3. Pull the A-pillar trim and detach clip B (1).
4. Pull the A-pillar trim upward and remove clip B from the A-pillar trim (2).
5. Pull clip B out and rotate it 45°
°°
° .
6. Remove clip B from the grommet by pulling it upward.
7. Install in the reverse order of removal.
(w) RX-8 Body
Page 148

Other manuals for Mazda RX8

Related product manuals