EasyManua.ls Logo

Mazda RX8 - Page 205

Mazda RX8
443 pages
Print Icon
To Next Page IconTo Next Page
To Next Page IconTo Next Page
To Previous Page IconTo Previous Page
To Previous Page IconTo Previous Page
Loading...
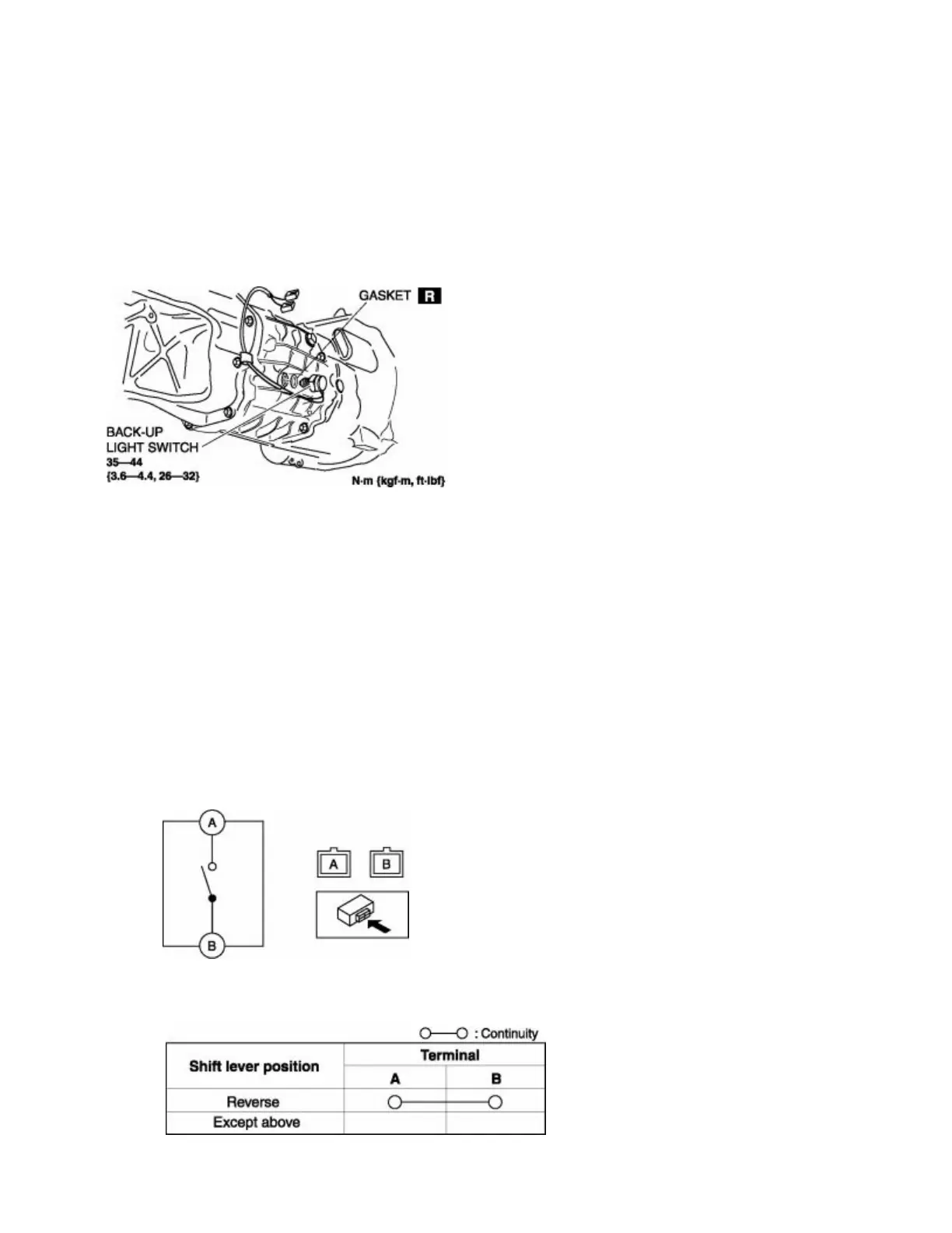
BACK-UP LIGHT SWITCH
BACK-UP LIGHT SWITCH REMOVAL/INSTALLATION
1. Disconnect the negative battery cable.
2. Disconnect the back-up light switch connector and remove the back-up light switch.
3. Install in the reverse order of removal.
BACK-UP LIGHT SWITCH INSPECTION
1. Disconnect the back-up light switch connector.
2. Verify that the continuity between the back-up light switch terminals is as indicated in the table.
If not as indicated in the table, replace the back-up light switch.
(w) RX-8 Body
Page 205

Other manuals for Mazda RX8

Related product manuals