EasyManua.ls Logo

MAZE PERGOLAS - Page 17

MAZE PERGOLAS
27 pages
Print Icon
To Next Page IconTo Next Page
To Next Page IconTo Next Page
To Previous Page IconTo Previous Page
To Previous Page IconTo Previous Page
Loading...
17
Assembly instructions
Pergola
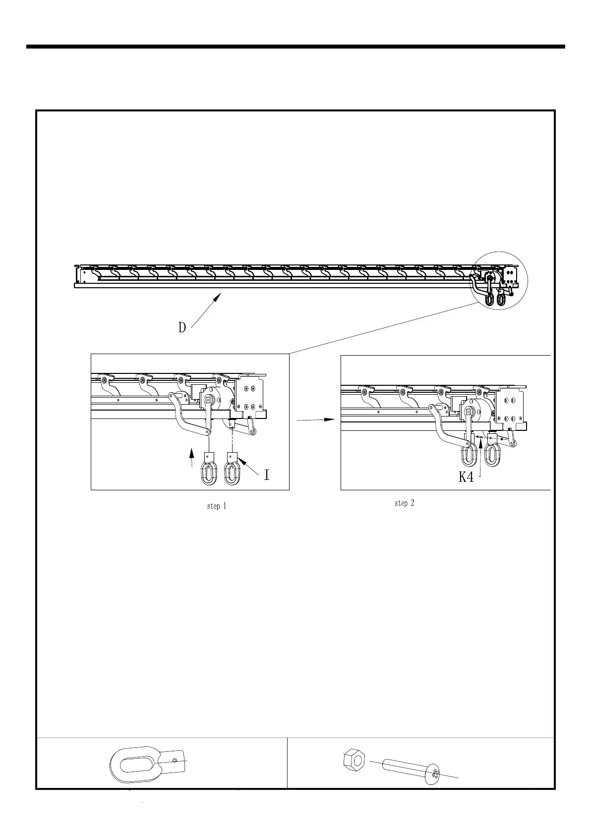
3. Put two hinge rings (part I) into the gearbox drive shaft on the beam D,
fix the screw + nut K4
QTY:2PCS
QTY:2 SETS
I
K4
M4 M4x25

Related product manuals