EasyManua.ls Logo

McQuay M4MC100D - Page 142

McQuay M4MC100D
177 pages
Print Icon
To Next Page IconTo Next Page
To Next Page IconTo Next Page
To Previous Page IconTo Previous Page
To Previous Page IconTo Previous Page
Loading...
141
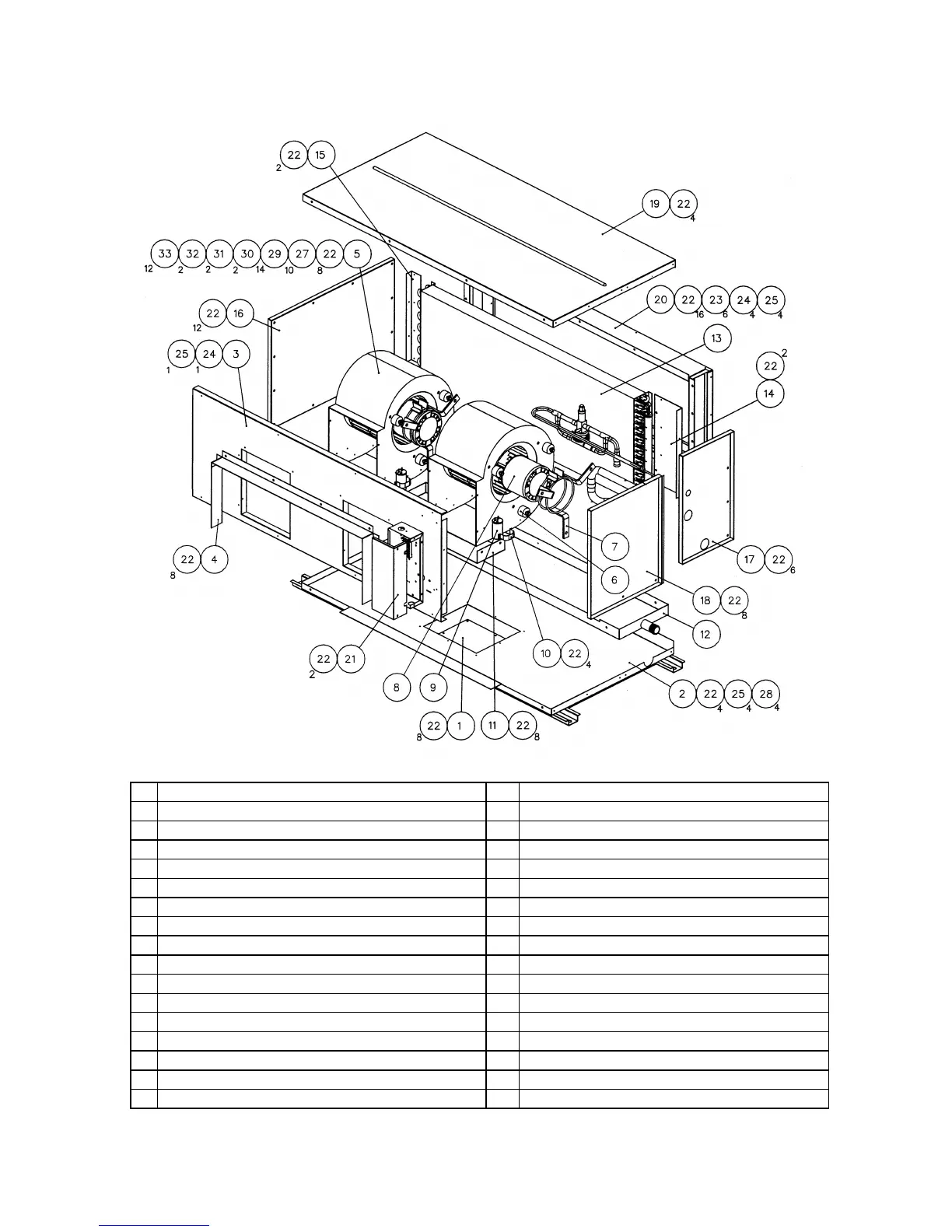
MODEL : MDB 075DR
1 ASSY, BASE PAN COVER INS. 18 ASSY, SIDE PANEL BIG RIGHT INS.
2 ASSY, BASE PAN INS. 19 ASSY, TOP PANEL INS.
3 ASSY, FRONT PANEL INS. 20 ASSY, SECTION FILTER
4 ASSY, FLANGE BLOWER 21 ASSY, TERMINAL BOX
5 ASSY, BLOWER 22 SCREW, S.T. TRUSS HEAD PHILIP
6 GROMET, MNTG COMPLETE WITH NUT 23 SCREW, SELF TAPPING PAN HEAD
7 ASSY, BRACKET FAN MOTOR 24 SCREW, TRUSS HEAD PHILIP
8 MOTOR 25 NUT, WELD M5
9 CAPACITOR, 6 uF/440V 26 SCREW, WOOD
10 CLAMP, CAPACITOR 27 WASHER, PLAIN
11 SUPPORT, BLOWER BRACKET 28 WASHER, PLAIN
12 ASSY, DRAIN PAN INS. 29 WASHER, SPRING
13 ASSY, COIL TUBING 30 WASHER, SPRING
14 ASSY, COIL SIDE COVER RIGHT INS. 31 BOLT, HEXAGON PAN HEAD
15 ASSY, COIL SIDE COVER LEFT INS. 32 NUT, HEXAGON
16 ASSY, SIDE PANEL LEFT INS. 33 NUT, HEXAGON
17 ASSY, SIDE PANEL SML RIGHT INS.
1-WITH A.O. SMITH MOTOR
2-WITH TORIN FORWARD CURVE BLOWER
3-WITH CONTROLLER
4-WITH DANFOSS THERMOSTATIC EXPANSION VALVE
5-WITH PE INSULATION
6-FOR 220-240V/1PH/50Hz
7-FOR EXPORT SPEC.

Related product manuals