EasyManua.ls Logo

McQuay MDB200B2 - Page 82

McQuay MDB200B2
163 pages
Print Icon
To Next Page IconTo Next Page
To Next Page IconTo Next Page
To Previous Page IconTo Previous Page
To Previous Page IconTo Previous Page
Loading...
81
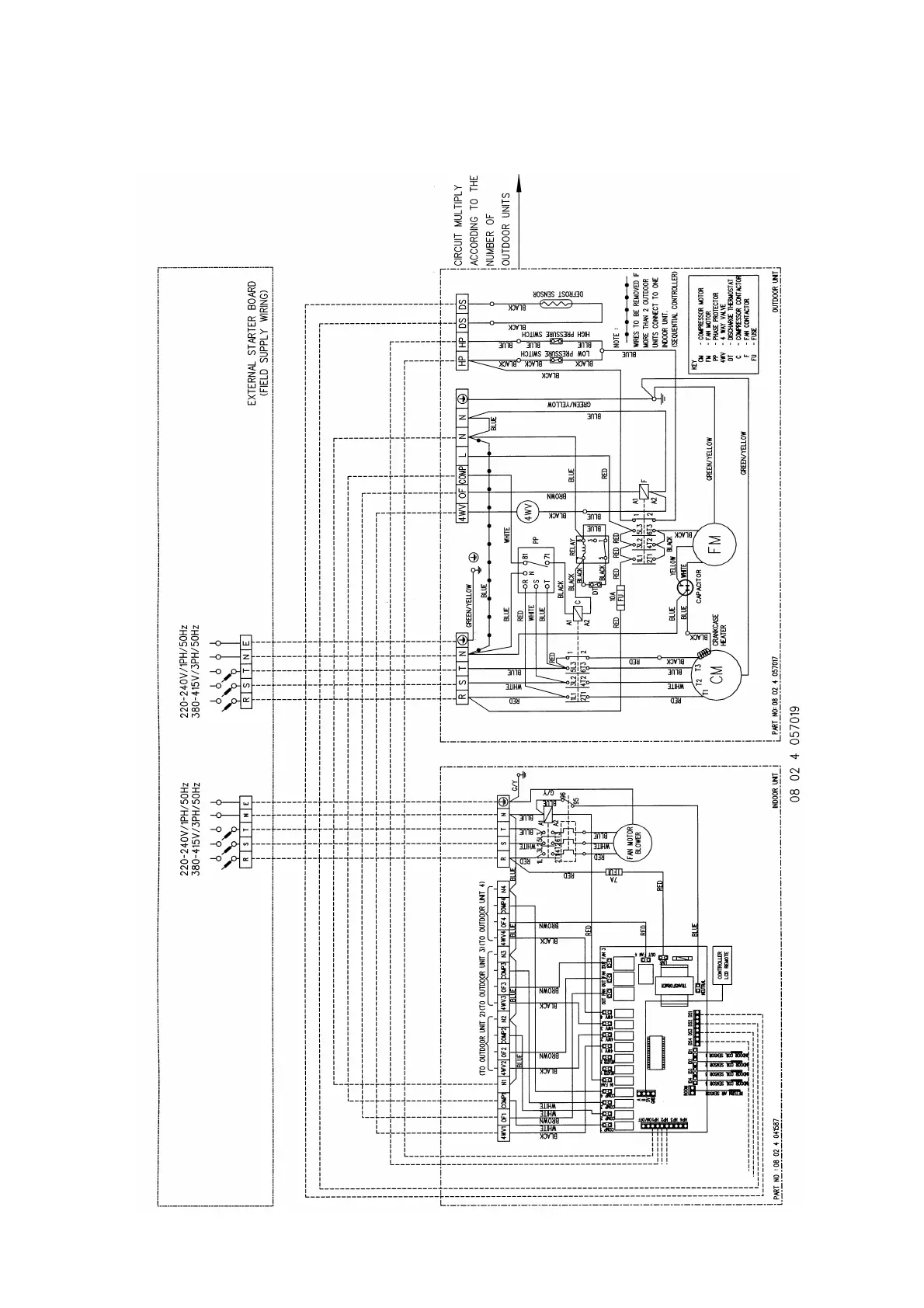
MODEL : INDOOR - MDB 400 BR4 (WITH SEQUENTIAL CONTROLLER)
OUTDOOR – MMC 100BR x 4 (WITH PHASE PROTECTOR/ DISCHARGE
THERMOSTAT/ AUTO RESET HI/LO PRESSURE SWITCH)

Related product manuals