EasyManua.ls Logo

McQuay MDB250B2 - Troubleshooting Common Issues

McQuay MDB250B2
163 pages
Print Icon
To Next Page IconTo Next Page
To Next Page IconTo Next Page
To Previous Page IconTo Previous Page
To Previous Page IconTo Previous Page
Loading...
100
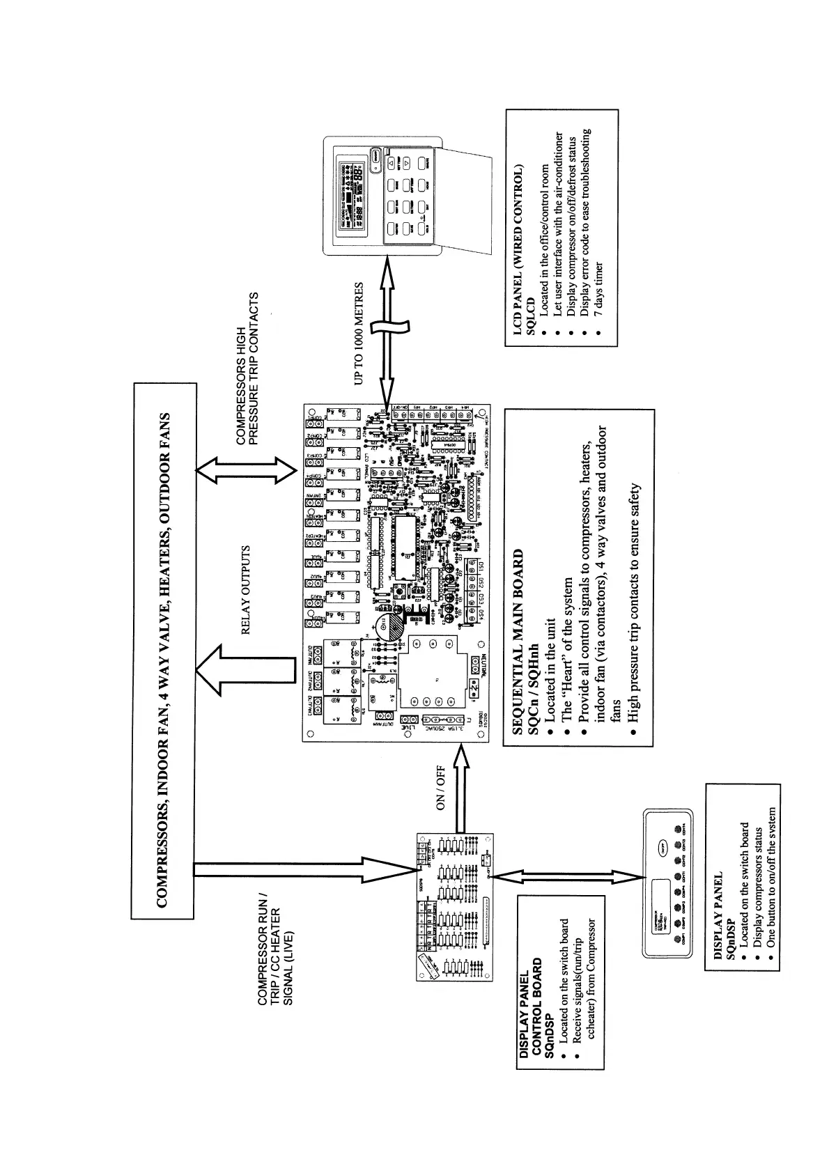
SEQUENTIAL CONTROLLER BLOCK DIAGRAM

Related product manuals