EasyManua.ls Logo

McQuay MMC - Slm3

McQuay MMC
66 pages
Print Icon
To Next Page IconTo Next Page
To Next Page IconTo Next Page
To Previous Page IconTo Previous Page
To Previous Page IconTo Previous Page
Loading...
19
SLM3
Outlook
SLM AC-5300 (OPTIONAL)
Operation Guide
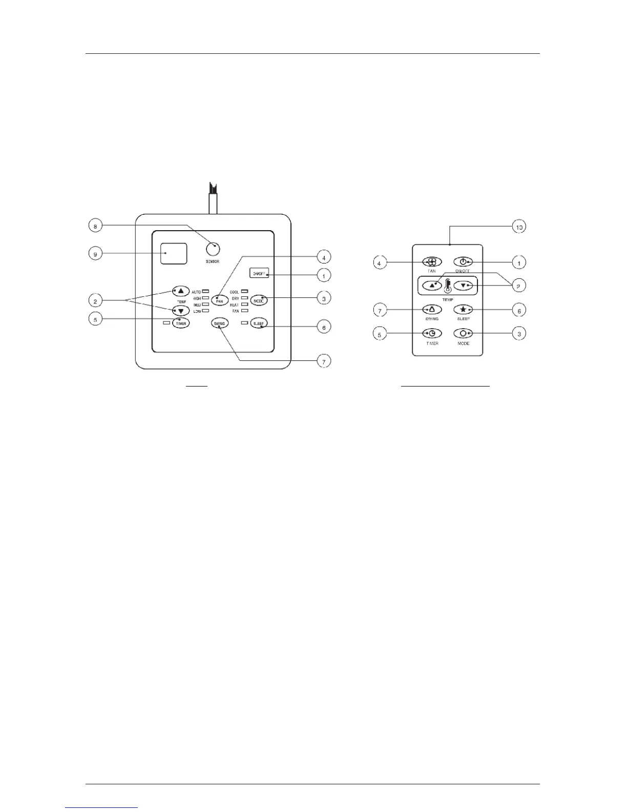
1. “ON/OFF” Switch
v Press to start the air conditioner unit.
v Press again to stop the unit.
2. Temperature Setting
v Set the desired room temperature.
v Press button to increase or decrease the set temperature. Setting range are between 16
o
C to 30
o
C
(60
o
F to 80
o
F).
3. Operation Modes
v Press the “mode” button for select the type of operating mode.
- Cooling Only:
COOL, DRY, FAN
- Heat Pump:
AUTO, COOL, DRY, HEAT, FAN
(AUTO mode is represented by both COOL and HEAT LED light on)
4. Fan Speed Selection
v Press the button until the desired fan speed is achieved.
5. Timer
v Press the set button to select the switch timer of the air conditioner unit (the setting range is
between 1 to 10 hours).

Other manuals for McQuay MMC

Related product manuals