EasyManua.ls Logo

McQuay MWM 007F - Page 92

McQuay MWM 007F
108 pages
Print Icon
To Next Page IconTo Next Page
To Next Page IconTo Next Page
To Previous Page IconTo Previous Page
To Previous Page IconTo Previous Page
Loading...
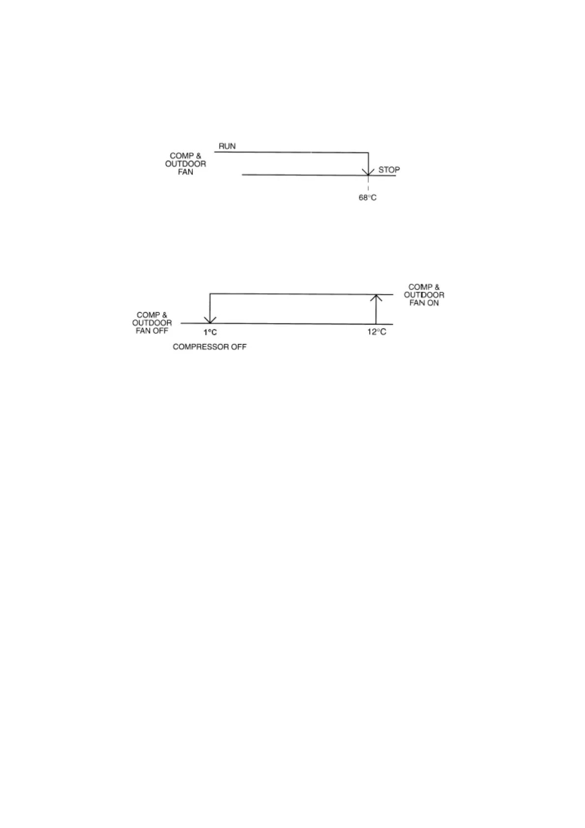
(E) Frost Prevention And Filter Check
In order to prevent the freezing of indoor coil, the controller will operate as follow.
(F) Auto Random Restart
When power resumed, the unit will automatically restart and operate at the previous setting as before
power failure occurred. (Remove jumper at JP1 will cancel the auto random restart function. Please refer
to wiring diagram for the location of the JP1).
90
(D) Overload Protection In Cooling Operation
When outdoor and indoor air temperature raise beyond the operation limit, or when the outdoor coil
choked with dirt, the M.C. controller detects abnormal increase in condensing temperature. It will stop the
operation to prevent compressor burn out.

Related product manuals