EasyManua.ls Logo

MCS Master B 130 - Page 15

Default Icon
30 pages
Print Icon
To Next Page IconTo Next Page
To Next Page IconTo Next Page
To Previous Page IconTo Previous Page
To Previous Page IconTo Previous Page
Loading...
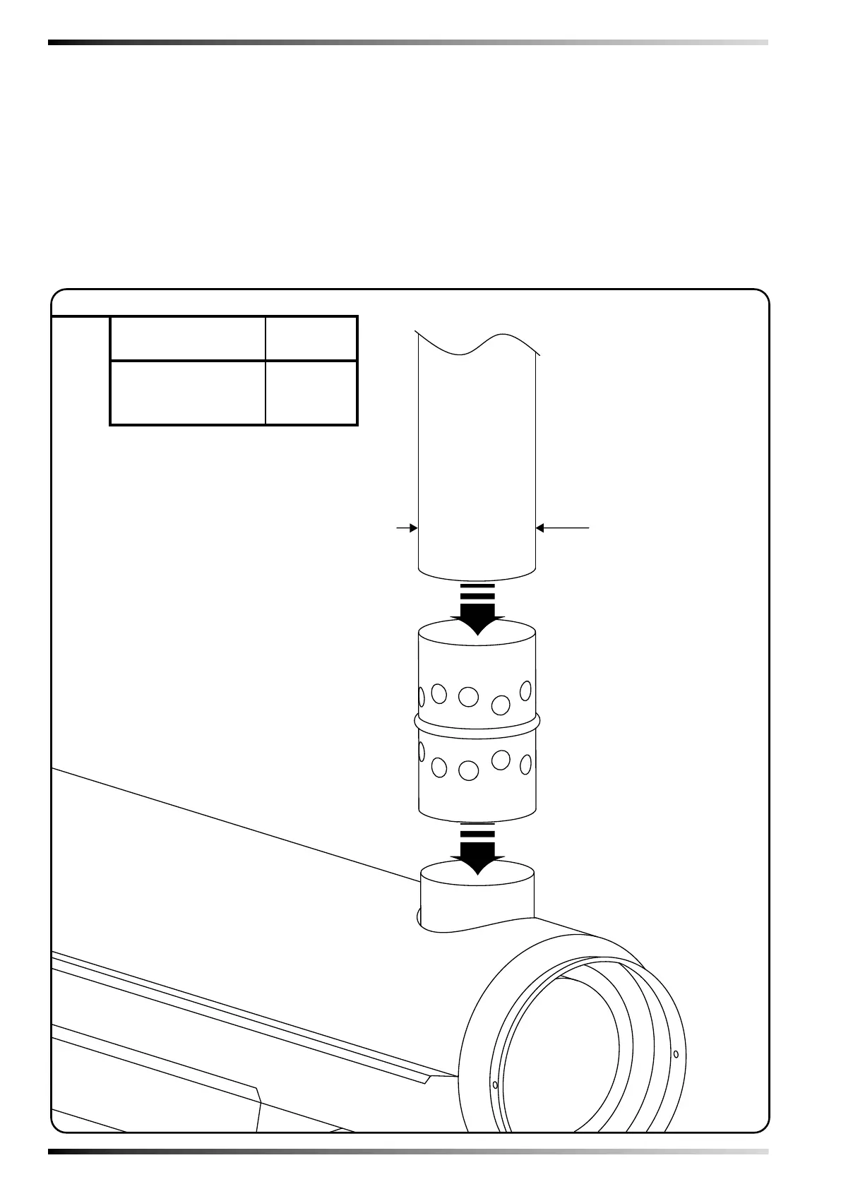
FLUE CONNECTIONS DIAGRAM - SCHEMA DI FISSAGGIO - HINWEISE
FÜR DEN SCHORNSTEINBAU - ESQUEMA DE FIJACIÓN - SCHÉMA DE
FIXAGE - BEVESTIGINGSSCHEMA - ESQUEMA DE FIXAÇÃO - FASTSPÆN-
DINGSSKEMA - KIINNITYSKAAVIO - FESTESKJEMA - MONTERINGSSCHE-
MA - SCHEMAT MOCOWANIA - СХЕМА КРЕПЛЕНИЯ - SCHEMAT MONTAŻU
PRZYŁĄCZA KOMINOWEGO - RÖGZÍTÉSI RAJZ - SHEMA ZA PRITRJEVANJE
- SABİTLEME ŞEMASI - SHEMA PRIČVRŠĆIVANJA - TVIRTINIMO SCHEMA
- NOSTIPRINĀŠANAS SISTĒMA - KINNITAMISE SKEEM - SCHEMĂ DE FIXA-
RE - SCHÉMA ZAPOJENIA DYMOVODU - СХЕМА ЗА ЗАКРЕПВАНЕ - СХЕМА
КРІПЛЕННЯ - ŠEMA PRIČVRŠĆIVANJA - ΣΧΗΜΑ ΣΤΕΡΕΩΣΗΣ - 固定装置示意图 -
БЕКІТУ СҮЛБЕСІ
A
A Ø > 120 mm-мм
BV 69...
BV 77...
Ø > 150 mm-мм
BV 110...
BV 170...
BV 290...

Related product manuals