EasyManua.ls Logo

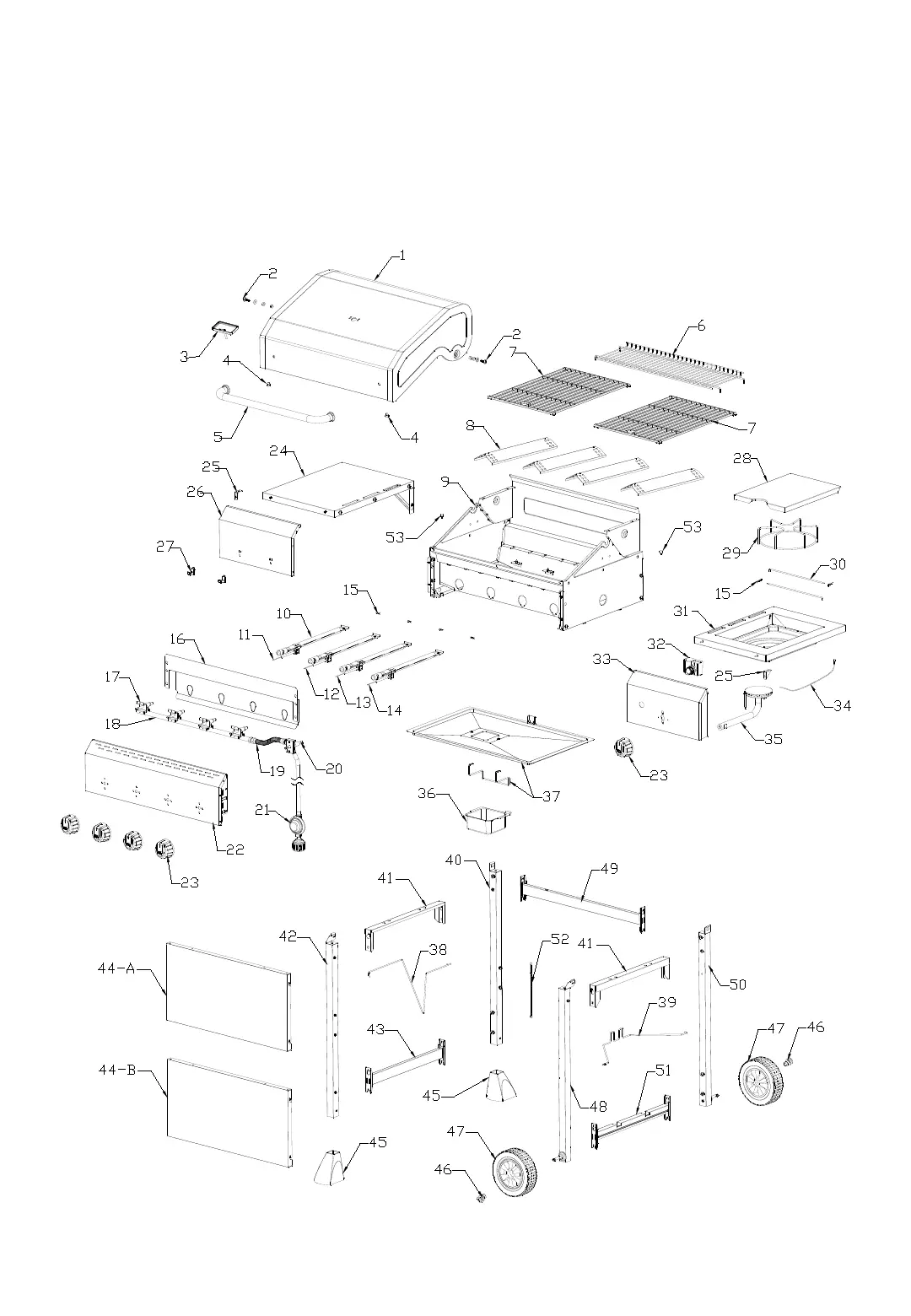
Megamaster 720-0804H - Exploded View; Vista en Detalle; Vue Éclatée

Megamaster 720-0804H
56 pages
Print Icon
To Next Page IconTo Next Page
To Next Page IconTo Next Page
To Previous Page IconTo Previous Page
To Previous Page IconTo Previous Page
Loading...
53
Replacement Parts see Page 54
Piezas de Reemplazo ver Pagina 55
Remplacement Pieces voir Page 56

Related product manuals