EasyManua.ls Logo

Meyer PV Series - Page 19

Meyer PV Series
92 pages
Print Icon
To Next Page IconTo Next Page
To Next Page IconTo Next Page
To Previous Page IconTo Previous Page
To Previous Page IconTo Previous Page
Loading...
INSTALLATION AND INSTRUCTIONAL MANUAL
xxxxx-xxx-xx month/day/year
PV SERIES
13
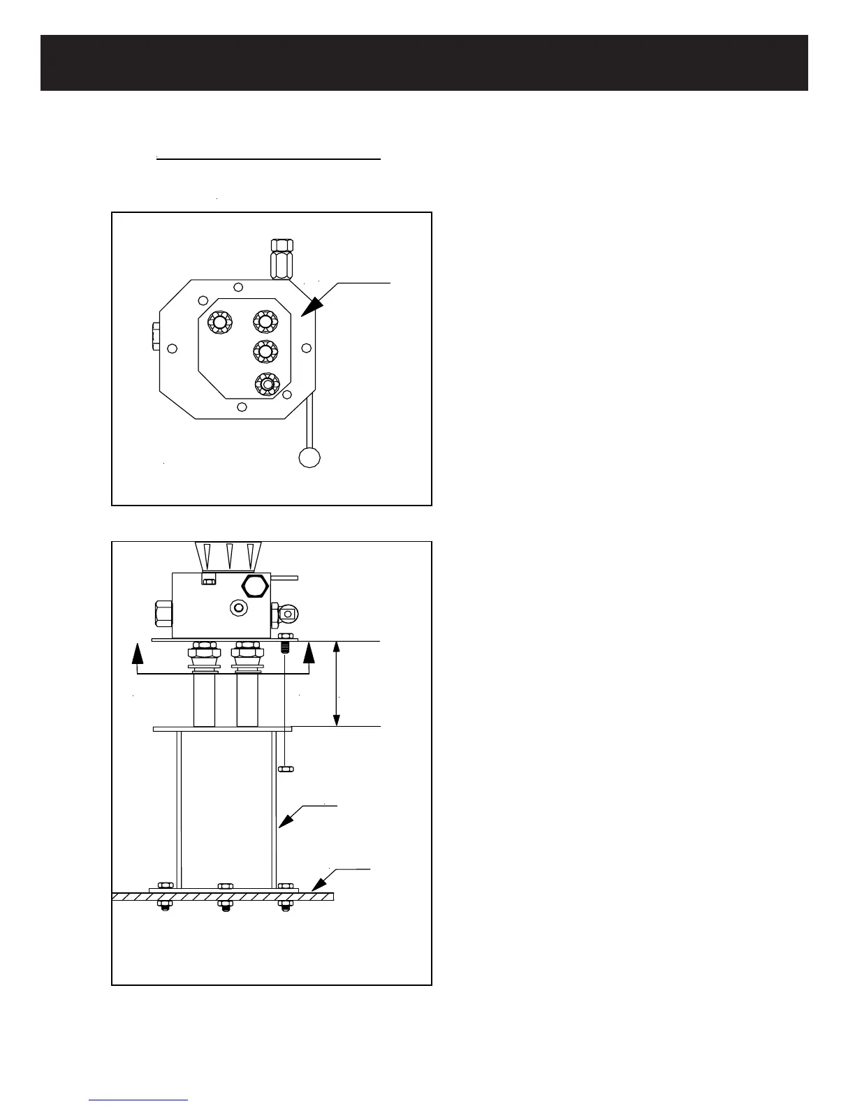
BOTTOM VIEW
A - A
(SHOWN W / O FITTINGS)
61190


FLANGE PLATE
00105-873-00
8.0"
HOSE SLACK
AFTER PLUMMING
A
A
VALVE STAND
(2) HALVES
00105-874-00
TRUCK CAB
FLOOR BOARD
*
DUAL FLOW VALVE/STAND
INSTALLATION INSTRUCTIONS
1. IMPORTANT: A pipe joint sealant compatible with
hydraulic oil must be applied to all screw fittings.
(Teflon Tape Sealant Is Not Recommended)
2. Hose ends connected to flow valve must be of the
"swivel" type.
3. CAUTION: Over tightening of the fittings in flow valve
may cause damage to valve body.
4. Approximately 8" of hose slack must be realized
between the flow valve and valve stand after the
flow valve has been completely plumbed. If this
condition does not exist after the plumbing has
been completed, removal of valve will require hoses
to be removed at opposite end of valve.
5. Assembly of valve on stand:
a. Cut a 5" x 5" square opening in floor board of
truck where the valve stand is to be located.
b. Bolt valve stand halves together forming a
"box" over the 5" x 5" square opening. NOTE:
When bolting valve stand halves in place,
make sure holes in flanges align with holes in
flange plate.”*
c. Bolt flange plate to VALVE (Use (2) 1/4" x 3"
bolts, lockwashers, etc.)
d. Insert hoses through floor opening and valve
stand and connect appropriate hoses (see
instructions #1 thru #4) to flow valve.
e. Bolt flange plate to valve stand flanges.
00108-760-01-REV-B
Page 19
OCTOBER, 2013

Related product manuals