EasyManua.ls Logo

Michelin CA-MCX6U - Page 26

Michelin CA-MCX6U
Print Icon
To Next Page IconTo Next Page
To Next Page IconTo Next Page
To Previous Page IconTo Previous Page
To Previous Page IconTo Previous Page
Loading...
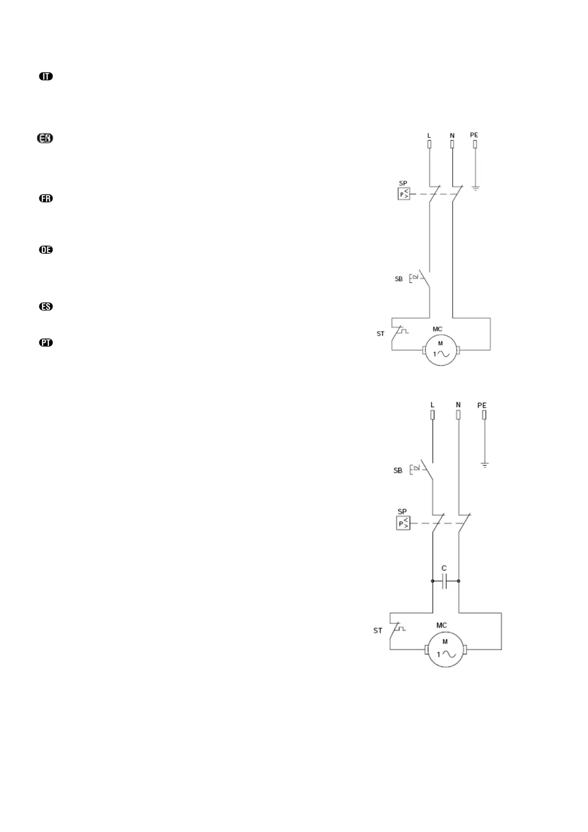
SCHEMA ELETTRICO – WIRING DIAGRAM – SCHEMA ELECTRIQUE – ELEKTROSCHEMA – ELEKTRICSCHEMA –
ELSKEMA – ESQUEMA ELECTRICO – ESQUEMA ELECTRICO – SAHKOAAVIO - ELSCHEMA
SP = PRESSOSTATO
SB = INTERRUTTORE ON-OFF
ST = SENSORE TEMP. MOTORE COMPRESSORE
C = CONDENSATORE
MC = MOTORE COMPRESSORE
SP = PRESSURE SWITCH
SB = ON-OFF SWITCH
ST = THERMAL PROTECTOR
C = CAPACITOR
MC = COMPRESSOR MOTOR
SP = PRESSOSTAT
SB = INTERRUPTEUR ON-OFF
ST = PROTECTION TERMIQUE
C = CONDENSATEUR
MC = MOTEUR
SP = DRUCKSCHALTER
SB = ON-OFF SHALTER
ST = TEMEPRATUR SENSOR
C = KONDENSATOR
MC = MOTOR
SP = PRESOSTATO
SB = INTERRUPTOR ON-OFF
ST = SENSOR DE TEMPERATURA
C = CONDENSADOR
MC = MOTOR
SP = BARÓSTATO
SB = INTERRUPTOR ON-OFF
ST = SENSOR DE TEMPERATURA
C = CONDENSADOR
MC = MOTOR
MONOFASE
V100/50-60 Hz
SINGLE / PHASE V120/50-60 Hz
MONOFASE
V230/50-60 Hz
SINGLE / PHASE

Related product manuals