EasyManua.ls Logo

Michelin CA-MCX6U - Page 7

Michelin CA-MCX6U
Print Icon
To Next Page IconTo Next Page
To Next Page IconTo Next Page
To Previous Page IconTo Previous Page
To Previous Page IconTo Previous Page
Loading...
ATTENZIONE
WARNING
AVERTISSEMENT
WARNUNG
ADVERTENCIA
ADVERTÊNCIA
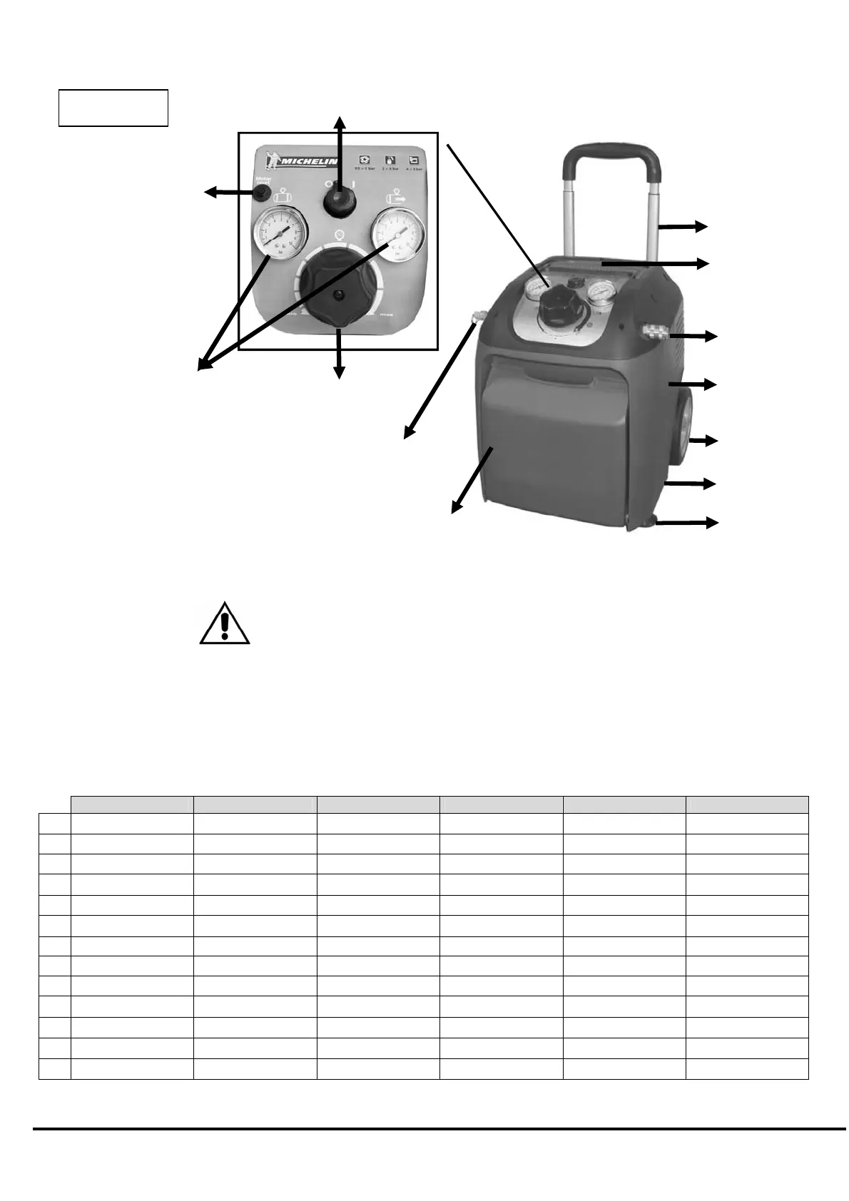
NON sollevare il compressore dalla maniglia 13
DO NOT lift the unit by handle 13
Ne soulevez pas le compresseur par la poignée 13
NICHT heben des Kompressor bei Griff 13
NO levantar el compresor para la manija 13
NÃO levante o compressor pela asa 13
IT EN FR DE ES PT
1
MANICO HANDLE POIGNEE GRIFF MANIJA ASA
2
INTERRUTTORE ON/OFF ON/OFF SWITCH INTERRUPTEUR ON/OFF ON/OFF SHALTER INTERRUPTOR ON/OFF INTERRUPTOR ON/OFF
3
RIDUTTORE DI
PRESSIONE
PRESSURE REDUCER
REDUCTEUR DE
PRESSION
DRUCKMINDERER REDUCTOR DE PRESIÓN REDUTOR DE PRESSÃO
4
MANOMETRO GAUGE MANOMETRE MONOMETER MANOMETRO MANOMETRO
5
USCITA ARIA COMPRESSA
COMPRESSED AIR
OUTLET
SORTIE AIR COMPRIME DRUCKLUFTAUSGANG
SALIDA DEL AIRE
COMPRIMIDO
SAIDA AR COMPRIMIDO
6
CARENATURA DI
PROTEZIONE
GUARD
CARENAGE DE
PROTECTION
SCHUTZVERKLEIDUNG
CARENADURA DE
PROTECCIÓN
COBERTURA DE
PROTECÇÃO
7
RUOTA WHEEL ROUE RAD RUEDA RODA
8
SCARICO CONDENSA CONDENSATE DRAIN
EVACUATION
CONDENSATION
AUSLASS
KONDENSWASSER
DESAGÜE DEL
CONDENSADO
PURGA DA
CONDENSAÇÃO
9
GOMMINI RUBBER FEET PIEDS EN CAOUTCHOUC GUMMIFUSSE TACOS DE GOMA BORRACHAS
10
VANO PORTAOGGETTI STORAGE COMPARTMENT BOÎTE À GANTS HANDSCHUHFACH GUANTERA PORTA-LUVAS
11
VALVOLA DI SICUREZZA SAFETY VALVE VANNE DE SECURITÉ SICHERHEITSVENTIL VÁLVULA DE SEGURIDAD VÁLVULA DE SEGURANÇA
12
PULSANTE DI RIARMO RESET SWITCH
INTERRUPTEUR DE
RÉARMEMENT
ERHOLUNGSHALTER
INTERRUPTOR DE
RESTABLECIMIENTO
INTERRUPTOR DO
RESTAURAÇÃO
13
MANICO TELESCOPICO RETRACTABLE HANDLE POIGNEE RÉTRACTABLE AUSZIEHBAREM GRIFF MANIJA RETRACTIL ASA RETRÁTIL
MCX 7
13
7
11
5
9
3
4
12
2
6
8
10
1

Related product manuals