EasyManua.ls Logo

Microdigital WTX-1200A - Page 8

Microdigital WTX-1200A
9 pages
Print Icon
To Next Page IconTo Next Page
To Next Page IconTo Next Page
To Previous Page IconTo Previous Page
To Previous Page IconTo Previous Page
Loading...
8
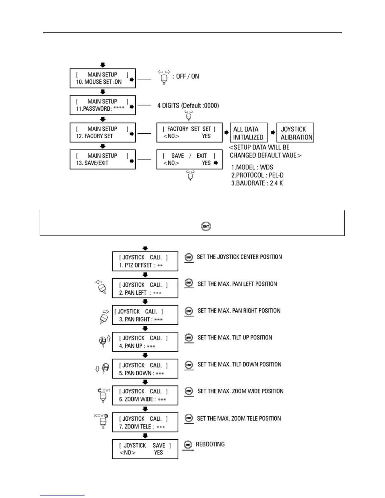
Joystick Calibration
It is for the keyboard to set the Max. movement of joystick.
Calibration method : Joystick move {Position Value} +