EasyManua.ls Logo

Midea FZ10-18TRB

Midea FZ10-18TRB
16 pages
To Next Page IconTo Next Page
To Next Page IconTo Next Page
To Previous Page IconTo Previous Page
To Previous Page IconTo Previous Page
Loading...
维修手册 Service Manual, 2019 v1.0
14 / 16
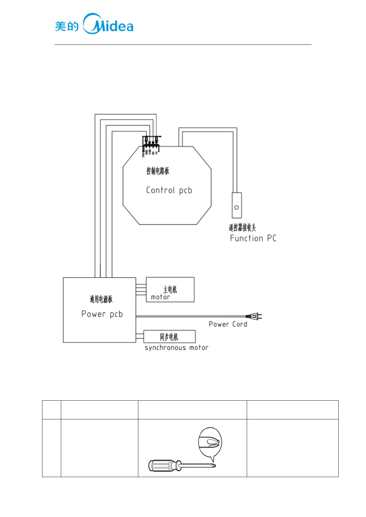
5 附录 Appendix:
5.1 整机接线图 Electrical Schematic Diagram
5.2 风扇维修常用工具、设备和材料 refrigerator maintenance tooling and equipment and
material
工具 Tooling
No.
名称 Name
图片 Photo
主要用途 Main Usage
1
十字螺丝刀 Phillips
screwdriver
拆卸螺钉 screw assemble and
disassemble

Related product manuals