EasyManua.ls Logo

Midea HRV-1500

Midea HRV-1500
32 pages
To Next Page IconTo Next Page
To Next Page IconTo Next Page
To Previous Page IconTo Previous Page
To Previous Page IconTo Previous Page
Loading...
Controller MCAC-KTSM-2009-03
24 Heat Recovery Ventilation
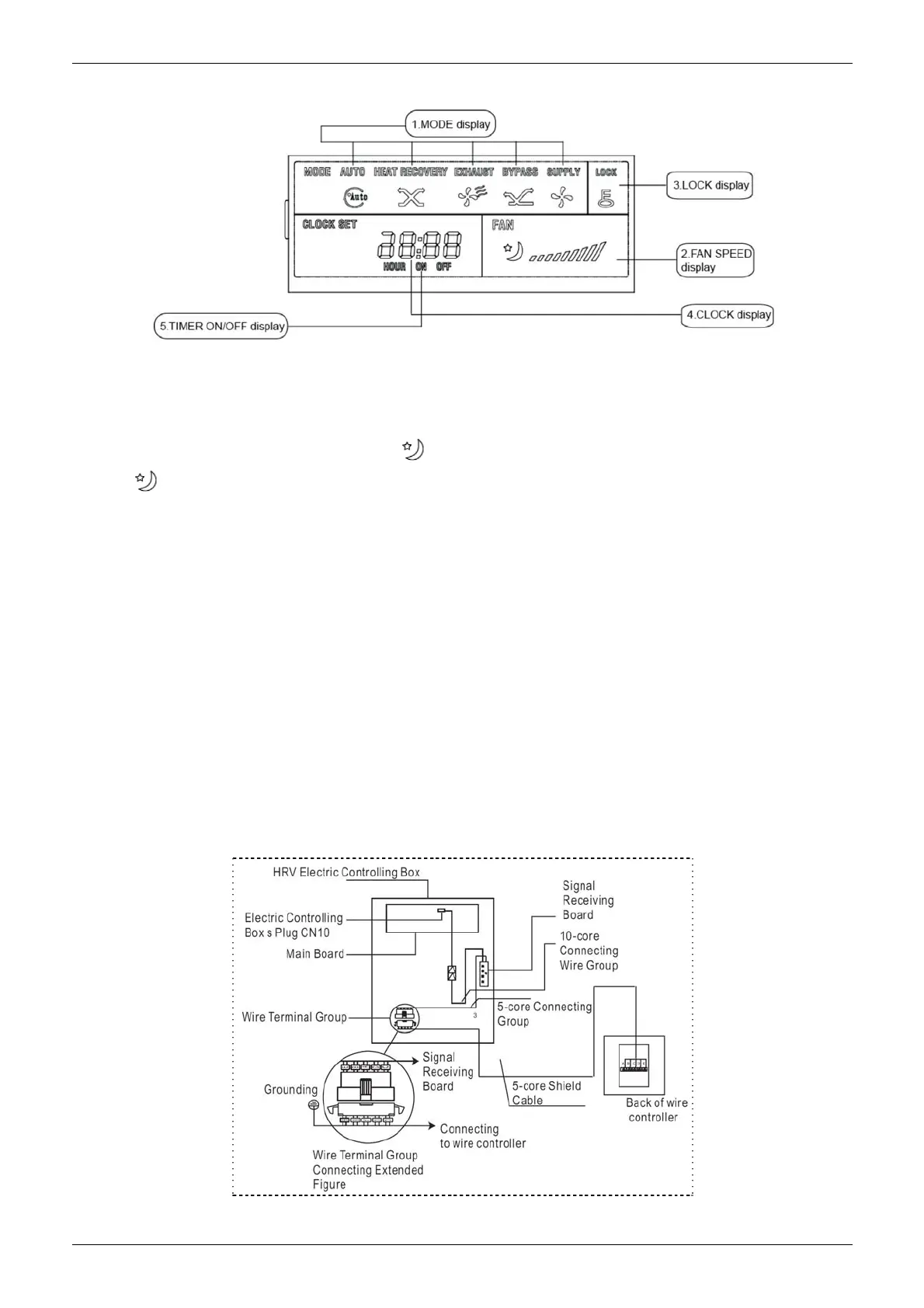
16.2 Name and functions of LCD on wired controller
1 Mode select display (MODE):
Press MODE button to select “AUTO”, “HEAT RECOVERY”, "EXHAUST","BYPASS", or "SUPPLY” mode.
2 Fan speed display (FAN SPEED)
Press FAN SPEED to select fan speed from "
", "LOW"," MED”, and "HIGH".
NOTE: "
" stand for fan working speed in sleep mode.
3 Lock display
Press LOCK to display the icon of LOCK. Press the button again then the icon of LOCK disappears. In the
mode of LOCK, all the buttons are invalid except for LOCK button.
4 CLOCK display
Usually display the clock set currently. Press the button CLOCK for 4 seconds, the HOUR part will flash,
press button and to adjust HOUR. Press the button CLOCK again, the minute part flash, press button
orto adjust MINUTE. After clock set or clock operation, it must press CONFIRM to complete the set.
5 TIMER ON/OFF display:
Display ON at the state of TIMER ON adjustment or after only set the TIMER ON; Display OFF at the state
of TIMER OFF adjustment or after only set the TIMER OFF; Display ON/OFF if simultaneously set the mode
of TIMER ON and TIMER OFF.
16.3 Installation
Connection method and the principle diagram show as follow:

Other manuals for Midea HRV-1500

Related product manuals