EasyManua.ls Logo

Midea MFE-60ARN1-RB4W - Page 49

Midea MFE-60ARN1-RB4W
57 pages
Print Icon
To Next Page IconTo Next Page
To Next Page IconTo Next Page
To Previous Page IconTo Previous Page
To Previous Page IconTo Previous Page
Loading...
46
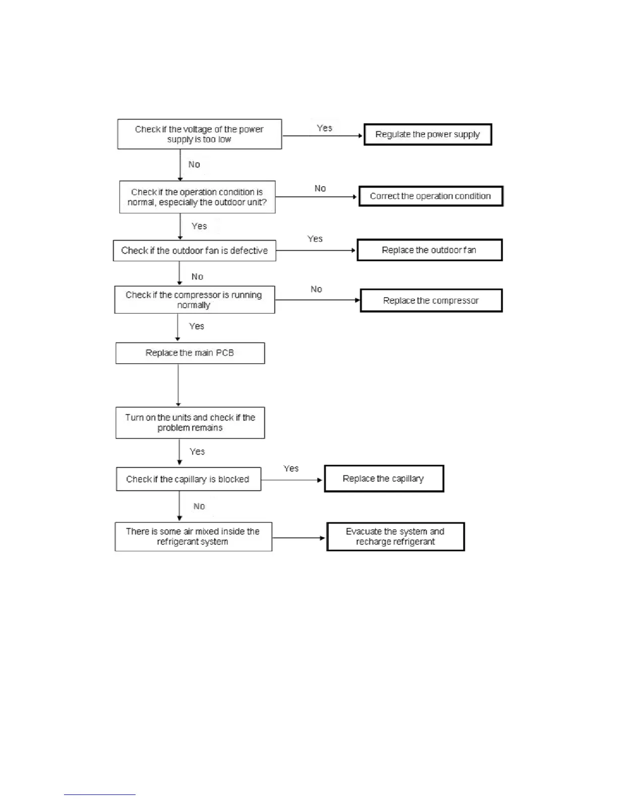
9.3.8 Overload of current

Related product manuals