EasyManua.ls Logo

Miele DA 400 - Appliance Dimensions

Miele DA 400
36 pages
Print Icon
To Next Page IconTo Next Page
To Next Page IconTo Next Page
To Previous Page IconTo Previous Page
To Previous Page IconTo Previous Page
Loading...
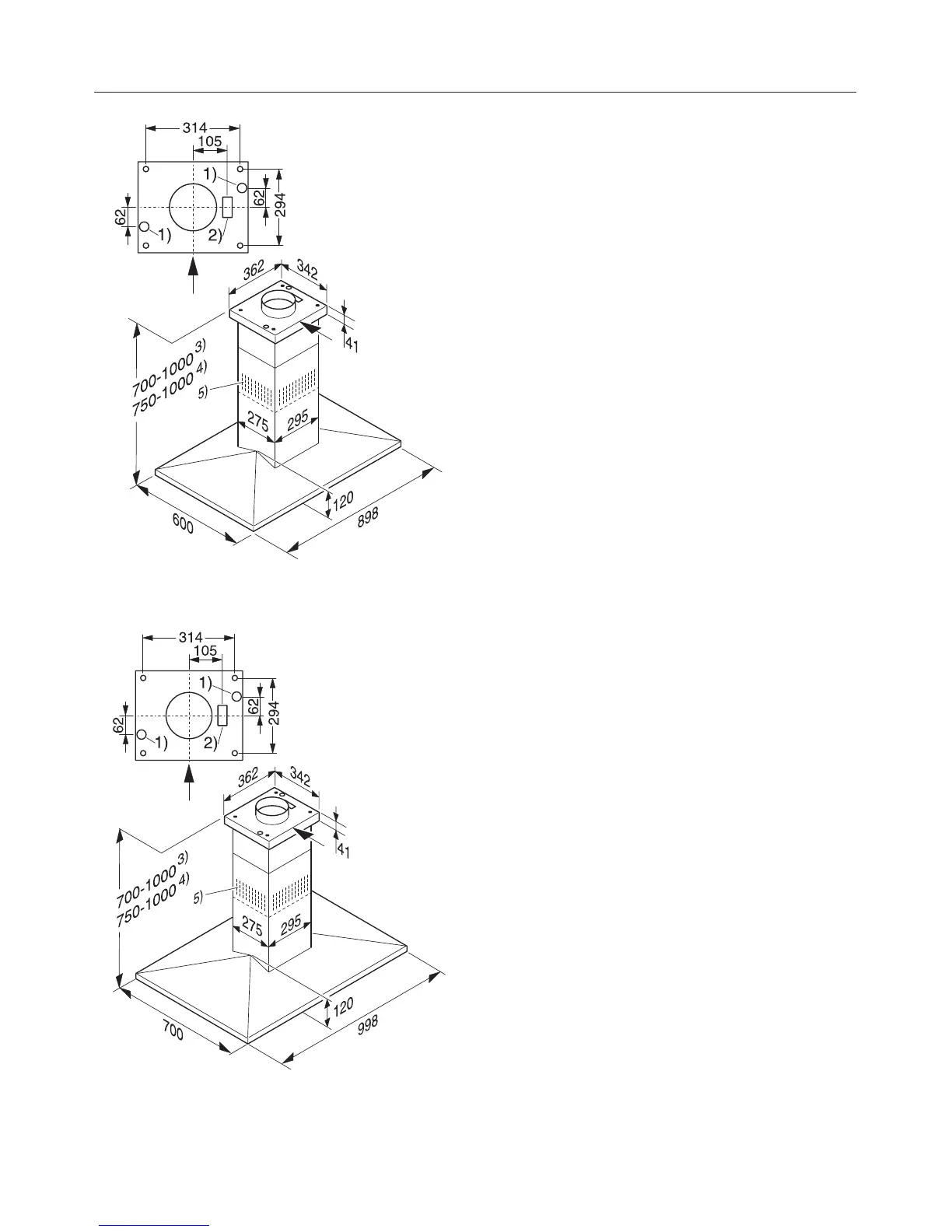
DA 400
(Ceiling fixing viewed from above)
DA 403
(Ceiling fixing viewed from above)
1) Alternative positions for feeding
through the mains cable
2) For ...EXT models only: cut-out for
feeding the connection cable through
to an external fan, min. 65 x 30 mm
3) Height range for appliance in
extraction mode
4) Height range for appliance in
recirculation mode
5) Ventilation grille position for
recirculation
Exhaust connection C 150 mm (not
needed for recirculation mode)
Appliance dimensions
26

Other manuals for Miele DA 400

Related product manuals