EasyManua.ls Logo

Miele DA 489-4 EXT - Silencer

Miele DA 489-4 EXT
40 pages
Print Icon
To Next Page IconTo Next Page
To Next Page IconTo Next Page
To Previous Page IconTo Previous Page
To Previous Page IconTo Previous Page
Loading...
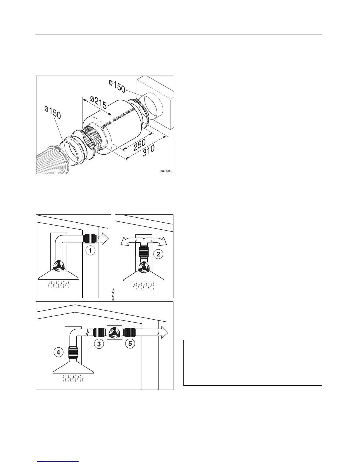
Silencer
(optional accessory)
To achieve even further reductions in
noise levels, a special silencer can be
fitted in the ducting system.
...with air extraction:
The silencer not only reduces noise
from the motor outside the house, but
also sounds from outside (e.g. traffic
noise).
For this reason the silencer must be
positioned as close as possible to the
ducting exit a.
...in recirculation mode:
The silencer needs to be positioned
between the exhaust connection and
the deflector b. Ensure there is
adequate space in the tower for fitting
it.
...air extraction with external motor:
To minimise noise from the motor in the
kitchen, the silencer should be
positioned in front of the external motor
c if possible, or if the ducting is long,
above the exhaust connection on the
cooker hood d.
In the case of an external motor located
inside the house, fitting a silencer
behind the external motor e reduces
the noise of the motor outside the
house.
In all modes of operation, the most
effective noise reductions are
achieved if two silencers are fitted
one behind the other in the system.
Connection for air extraction
35

Other manuals for Miele DA 489-4 EXT

Related product manuals