EasyManua.ls Logo

Miele DGC 7440 - Water and Condensate Containers

Miele DGC 7440
172 pages
Print Icon
To Next Page IconTo Next Page
To Next Page IconTo Next Page
To Previous Page IconTo Previous Page
To Previous Page IconTo Previous Page
Loading...
Overview
19
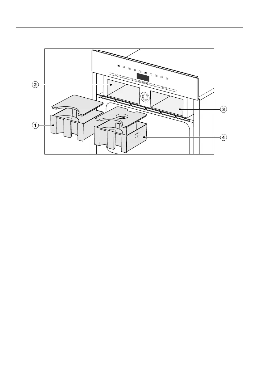
a
Condensate container
b
Compartment for the condensate container
c
Compartment for water container
d
Water container

Table of Contents