EasyManua.ls Logo

Miele G 6500 - Page 87

Miele G 6500
92 pages
Print Icon
To Next Page IconTo Next Page
To Next Page IconTo Next Page
To Previous Page IconTo Previous Page
To Previous Page IconTo Previous Page
Loading...
Sound emission testing
87
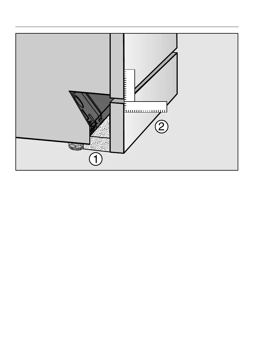
Push the provided fleece strips (depending on model) under the toe-kick until it
is flush with the appliance feet .
P
ush the toe-kick into place in such a way that it is flush with the door front .

Table of Contents

Related product manuals