EasyManua.ls Logo

Miele G 7151 - Page 91

Miele G 7151
96 pages
Print Icon
To Next Page IconTo Next Page
To Next Page IconTo Next Page
To Previous Page IconTo Previous Page
To Previous Page IconTo Previous Page
Loading...
Sound emission testing
91
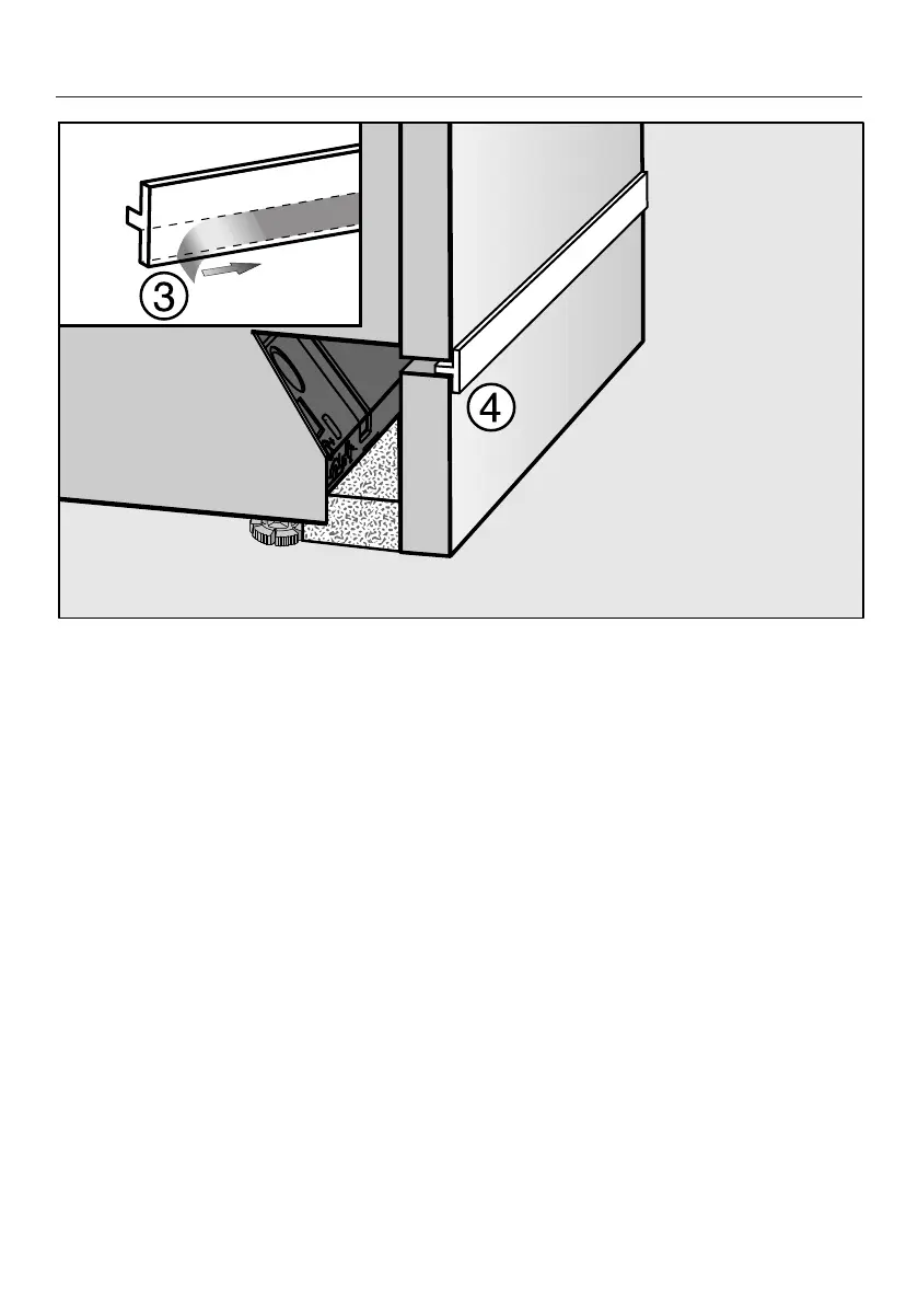
Remove the protective film from the provided insulating strip (depending on
model) .
Stick the insulating strip onto the front top edge of the toe-kick board .

Table of Contents

Related product manuals