EasyManua.ls Logo

Miele G 7155 - Items Not Suitable for Dishwashers

Miele G 7155
48 pages
Print Icon
To Next Page IconTo Next Page
To Next Page IconTo Next Page
To Previous Page IconTo Previous Page
To Previous Page IconTo Previous Page
Loading...
de - Geräuschmessungen
39
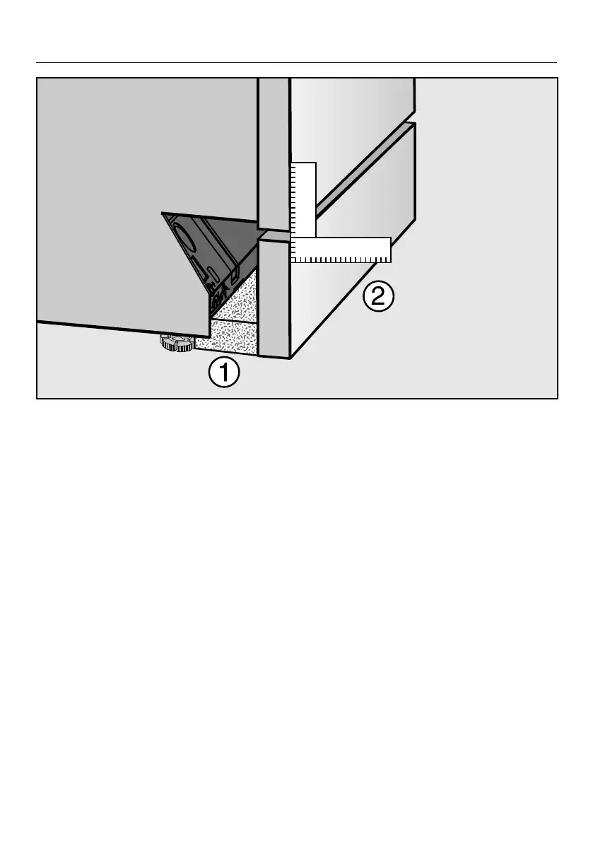
Schieben Sie den beigelegten Vliesstreifen (je nach Modell) unter den Sockel,
bis er an den Gerätefüßen anliegt .
Legen Sie die Sockelleiste so an, dass sie bündig mit der Türfront ist .

Other manuals for Miele G 7155

Related product manuals