EasyManua.ls Logo

Miele G 7155 - Upper Basket

Miele G 7155
48 pages
Print Icon
To Next Page IconTo Next Page
To Next Page IconTo Next Page
To Previous Page IconTo Previous Page
To Previous Page IconTo Previous Page
Loading...
de - Geräuschmessungen
40
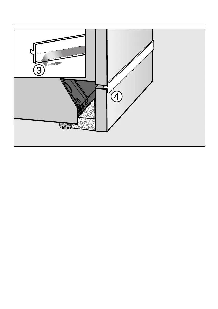
Entfernen Sie die Schutzfolie von der beigelegten Dämmleiste (je nach Modell)
.
Kleben Sie die Dämmleiste an die obere, vordere Kante der Sockelleiste .

Other manuals for Miele G 7155

Related product manuals