EasyManua.ls Logo

Miele G 7155 - Page 42

Miele G 7155
48 pages
Print Icon
To Next Page IconTo Next Page
To Next Page IconTo Next Page
To Previous Page IconTo Previous Page
To Previous Page IconTo Previous Page
Loading...
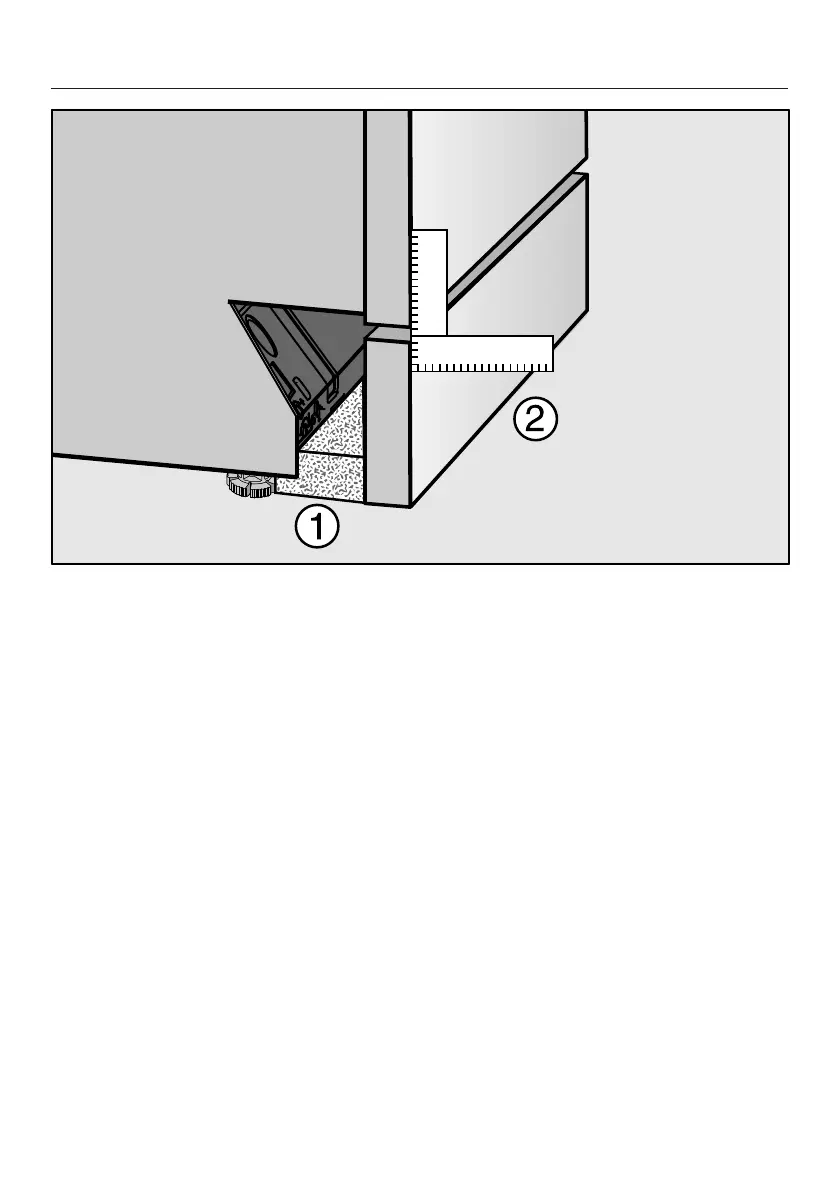
en - Noise measurements
42
Push the provided fleece strips (depending on model) under the plinth until it is
flush with the appliance feet.
Attach the plinth fascia so that it is flush with the door front.

Other manuals for Miele G 7155

Related product manuals