EasyManua.ls Logo

Miele G 7155 - Adjusting the Upper Basket

Miele G 7155
48 pages
Print Icon
To Next Page IconTo Next Page
To Next Page IconTo Next Page
To Previous Page IconTo Previous Page
To Previous Page IconTo Previous Page
Loading...
en - Noise measurements
43
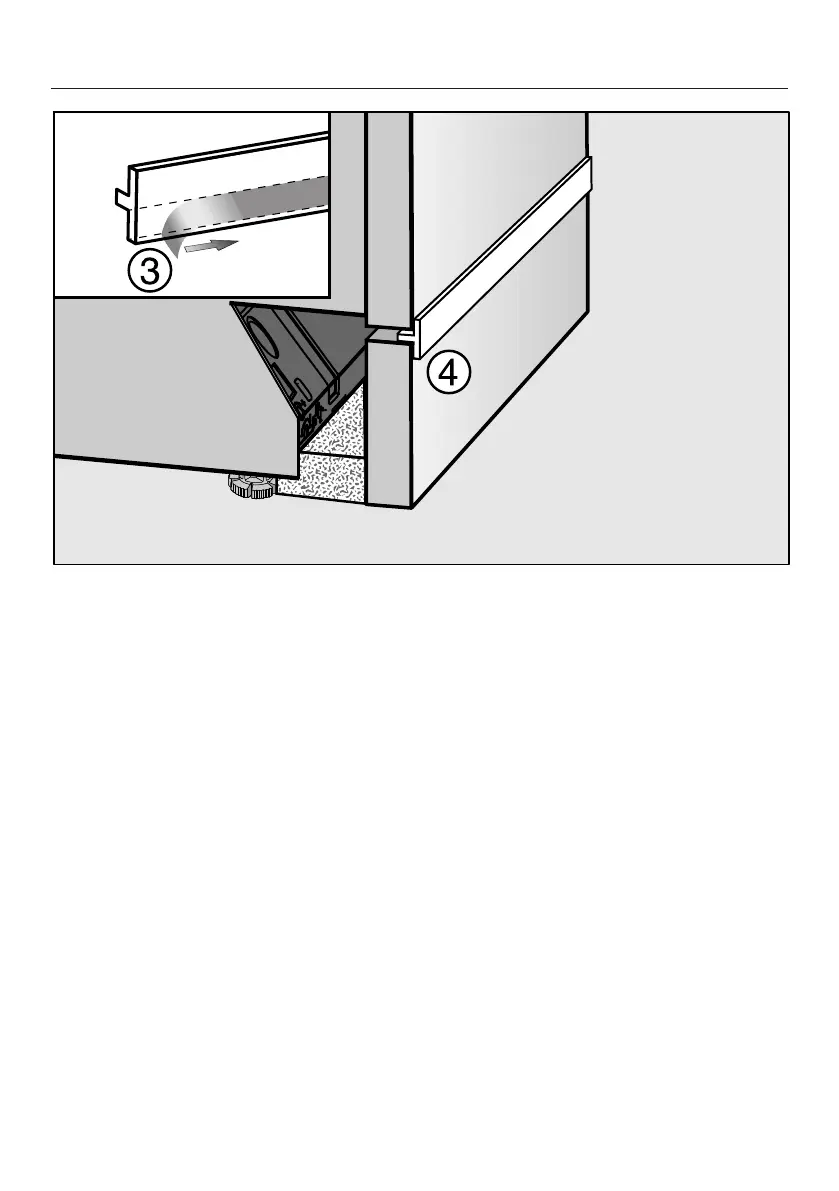
Remove the protective film from the provided insulating strip (depending on mo-
del).
Stick the insulating strip onto the front top edge of the plinth fascia.

Other manuals for Miele G 7155

Related product manuals