EasyManua.ls Logo

Miele G 7155 - Loading the FlexCare Glass Holder

Miele G 7155
48 pages
Print Icon
To Next Page IconTo Next Page
To Next Page IconTo Next Page
To Previous Page IconTo Previous Page
To Previous Page IconTo Previous Page
Loading...
fr - Mesure acoustique
45
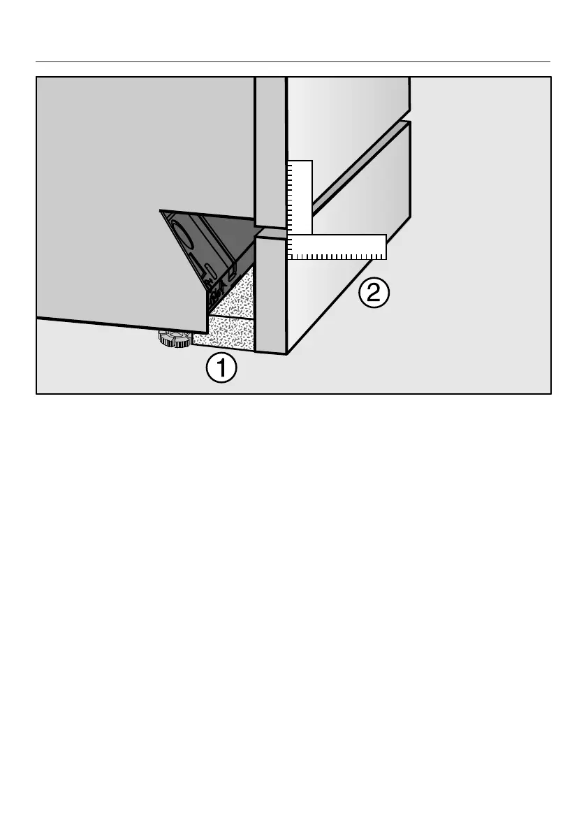
Poussez le tapis d'isolation fourni (selon le modèle) sous le socle jusqu'à ce qu'il
repose sous les pieds de l'appareil .
Attachez le bandeau de socle de sorte qu'il soit au même niveau que l'avant de
la porte .

Other manuals for Miele G 7155

Related product manuals