EasyManua.ls Logo

Miele G 7155 - Cutlery Tray;Cutlery Basket

Miele G 7155
48 pages
Print Icon
To Next Page IconTo Next Page
To Next Page IconTo Next Page
To Previous Page IconTo Previous Page
To Previous Page IconTo Previous Page
Loading...
fr - Mesure acoustique
46
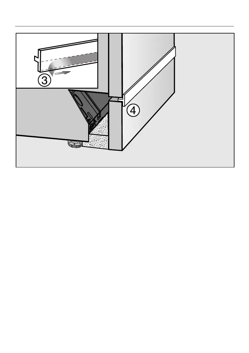
Retirez le film de protection de la bande isolante jointe (selon le modèle) .
Collez la bande isolante sur l'arête supérieure avant du bandeau de socle.

Other manuals for Miele G 7155

Related product manuals