EasyManua.ls Logo

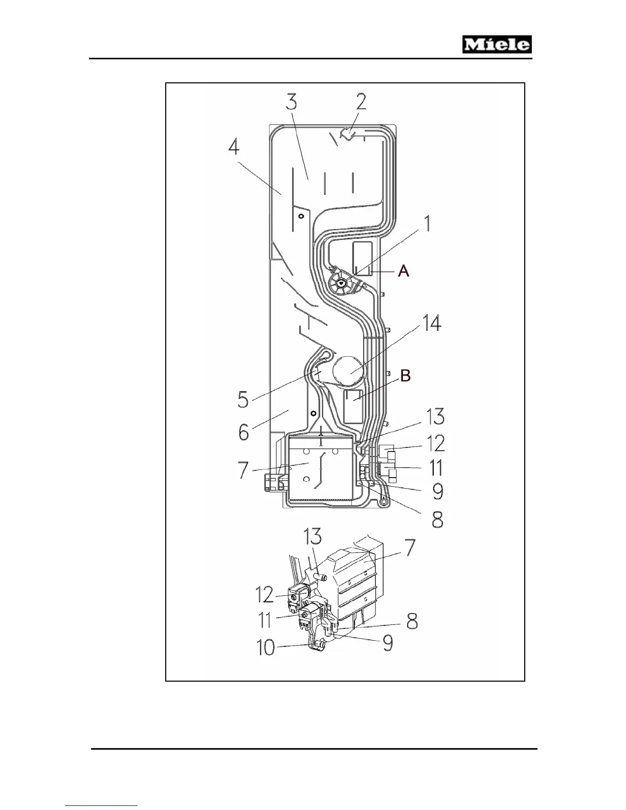
Miele G1000 - Figure 4-4: Water Inlet Mixer

Miele G1000
221 pages
Print Icon
To Next Page IconTo Next Page
To Next Page IconTo Next Page
To Previous Page IconTo Previous Page
To Previous Page IconTo Previous Page
Loading...
Technical Information
G1000 / G2000 Dishwashers
Figure 4-4: Water Inlet Mixer
33

Table of Contents

Related product manuals