EasyManua.ls Logo

Miele G880 - Salt Indicator; Bypassing the Salt Indicator Lamp

Miele G880
68 pages
Print Icon
To Next Page IconTo Next Page
To Next Page IconTo Next Page
To Previous Page IconTo Previous Page
To Previous Page IconTo Previous Page
Loading...
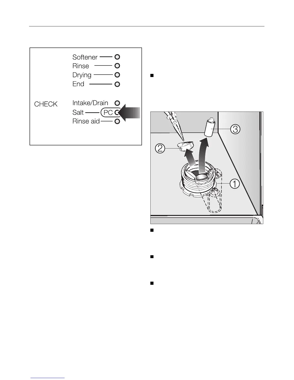
Salt indicator.
When the salt reservoir is empty, the
“Salt
9
” indicator lamp will light, not-
ifying you that the reservoir should be
refilled with reactivation salt.
After the reservoir has been filled, the
water softener is automatically reacti-
vated the next time the dishwasher is
run.
The “Softener” indicator lamp illumi-
nates during this process.
Note:
If your water is very soft (below
7 gr/gal), the salt indicator lamp will
stay on. In this case the reservoir
should not be filled with salt. The indica-
tor lamp will remain lit and should be
disregarded or bypassed.
The “Salt
9
” indicator lamp has also
been designed for future program up-
dates (PC). See the “After Sales Ser-
vice” section for further details.
Bypassing the Salt indicator lamp.
In order to bypass the salt indicator
lamp, you will need a screwdriver and
needle nose pliers.
Remove the salt reservoir cap.
Looking into the salt reservoir, you will
see the top of the float chamber on the
right hand side
b.
Using a screwdriver, carefully pivot
the float chamber towards the center
of the reservoir.
Using the needle nose pliers, first
pull the cap
c off of the float cham-
ber, then remove the float
d.
Replace the float chamber cap,
push the chamber back into its up-
right position, and replace the salt
reservoir cap. The indicator lamp
should now remain off.
Water Softener
19

Table of Contents

Related product manuals