EasyManua.ls Logo

Miele KF 7632 S - Description of the appliance

Miele KF 7632 S
40 pages
Print Icon
To Next Page IconTo Next Page
To Next Page IconTo Next Page
To Previous Page IconTo Previous Page
To Previous Page IconTo Previous Page
Loading...
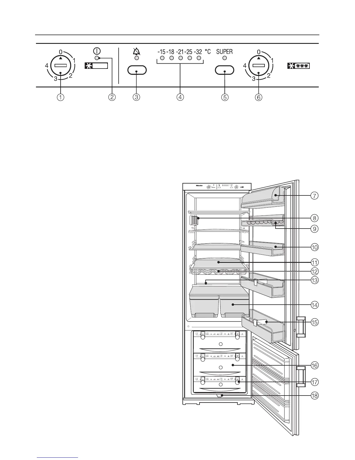
a On/Off and temperature selector dial
for the refrigerator section
b Refrigerator section indicator light
c Alarm button and indicator light
g Butter and cheese compartment
h Interior lighting
i Egg trays
j Adjustable door shelves
k Adjustable shelves (glass or racks)
l Bottle rack (depending on model)
m Condensate channel and
drain hole
n Fruit and vegetable containers
o Divider
p Drawer with freezer
calendar
q Marker system for frozen food
r Outlet guide for defrosting
d Freezer section temperature display
e Super freeze button and indicator
light
f On/off and temperature selector dial
for the freezer section
Description of the appliance
4

Table of Contents

Related product manuals