EasyManua.ls Logo

Miele KM 410 - Page 8

Miele KM 410
20 pages
Print Icon
To Next Page IconTo Next Page
To Next Page IconTo Next Page
To Previous Page IconTo Previous Page
To Previous Page IconTo Previous Page
Loading...
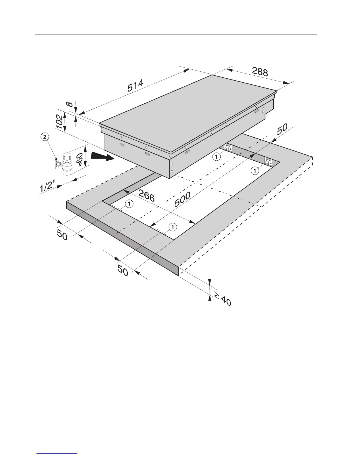
KM 410 / KM 411 / KM 411-3
a Spring clamps
b Drain tap
Appliance dimensions
8

Related product manuals