EasyManua.ls Logo

Miele T 7934 - Connect Directly to a Wall Vent

Miele T 7934
64 pages
Print Icon
To Next Page IconTo Next Page
To Next Page IconTo Next Page
To Previous Page IconTo Previous Page
To Previous Page IconTo Previous Page
Loading...
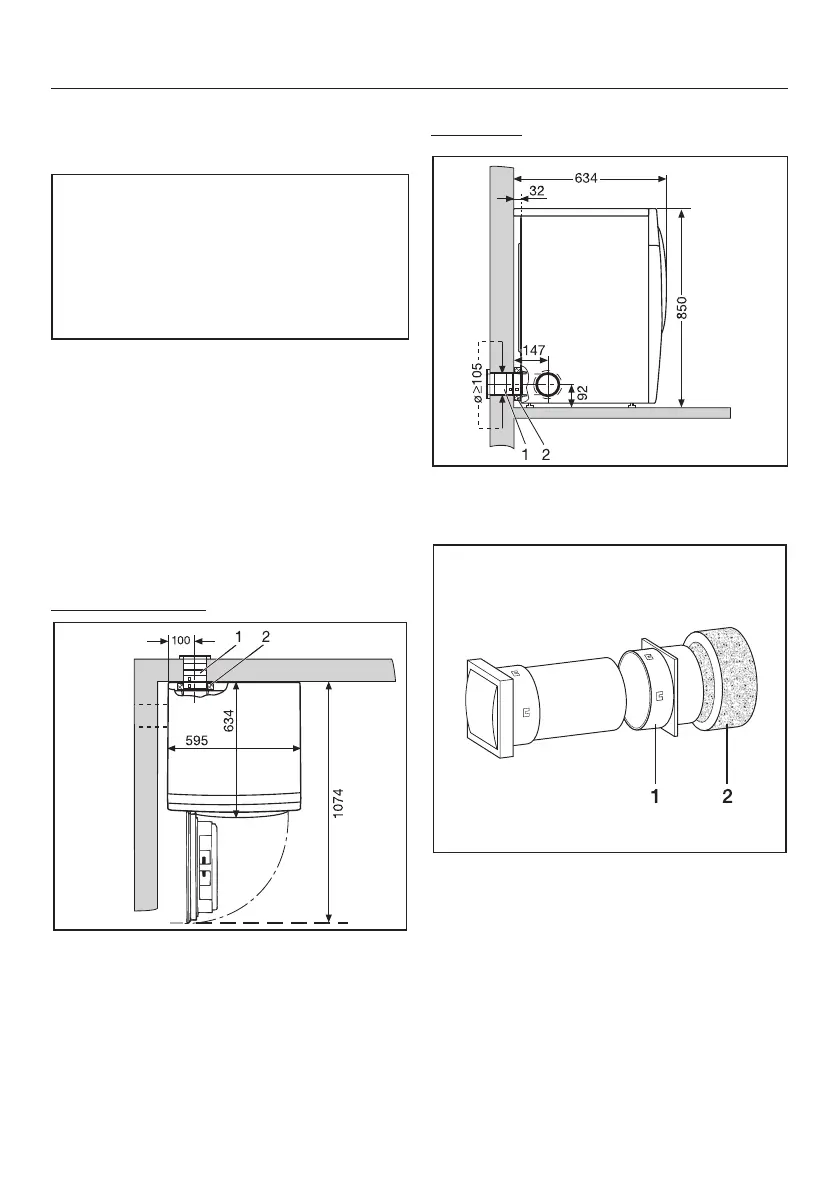
c Connect directly to a wall
vent
The best method of venting the dryer
is to connect it directly to the outside
wall of a room. Time and energy
consumption are better with plastic
piping. This involves boring through
an outside wall.
A wall pipe* and a flexible foam gasket*
must be used
(* Miele optional accessories).
A Before drilling into the wall, . .
. . . please read the installation
instructions supplied with the Miele
wall vent kit.
. . . and study the following
diagrams.
View from above:
1. Wall pipe
2. Flexible foam gasket
Side view:
1. Wall pipe
2. Flexible foam gasket
B Fit the foam gasket (2) onto the
adapter (1) on the wall pipe.
C Push the dryer up against the wall.
Installation - venting
46

Table of Contents

Related product manuals