EasyManua.ls Logo

Mitsubishi MELSEC A6TBXY36 - Page 116

Mitsubishi MELSEC A6TBXY36
149 pages
Print Icon
To Next Page IconTo Next Page
To Next Page IconTo Next Page
To Previous Page IconTo Previous Page
To Previous Page IconTo Previous Page
Loading...
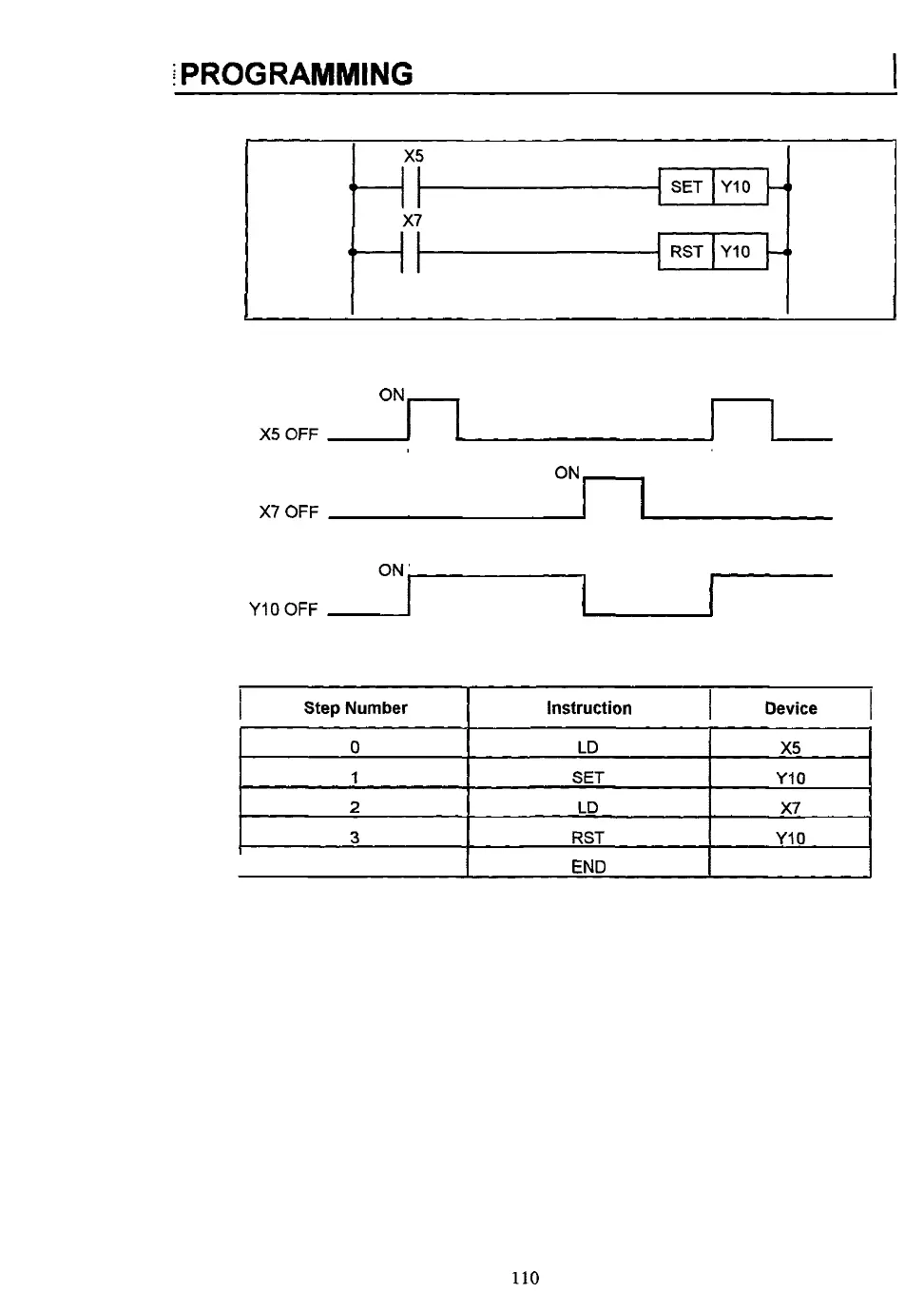
;PROGRAMMING
Y10
OFF
r-”1
I
ON
X5
OFF
1
0
1
2
3
ON
X7
OFF
LD
x5
SET
Y10
LD
x7
RST
Y10
I
StepNumber
Instruction
I
Device
I
110

Table of Contents

Related product manuals