EasyManua.ls Logo

Mityvac MV6835 - Page 46

Mityvac MV6835
56 pages
Print Icon
To Next Page IconTo Next Page
To Next Page IconTo Next Page
To Previous Page IconTo Previous Page
To Previous Page IconTo Previous Page
Loading...
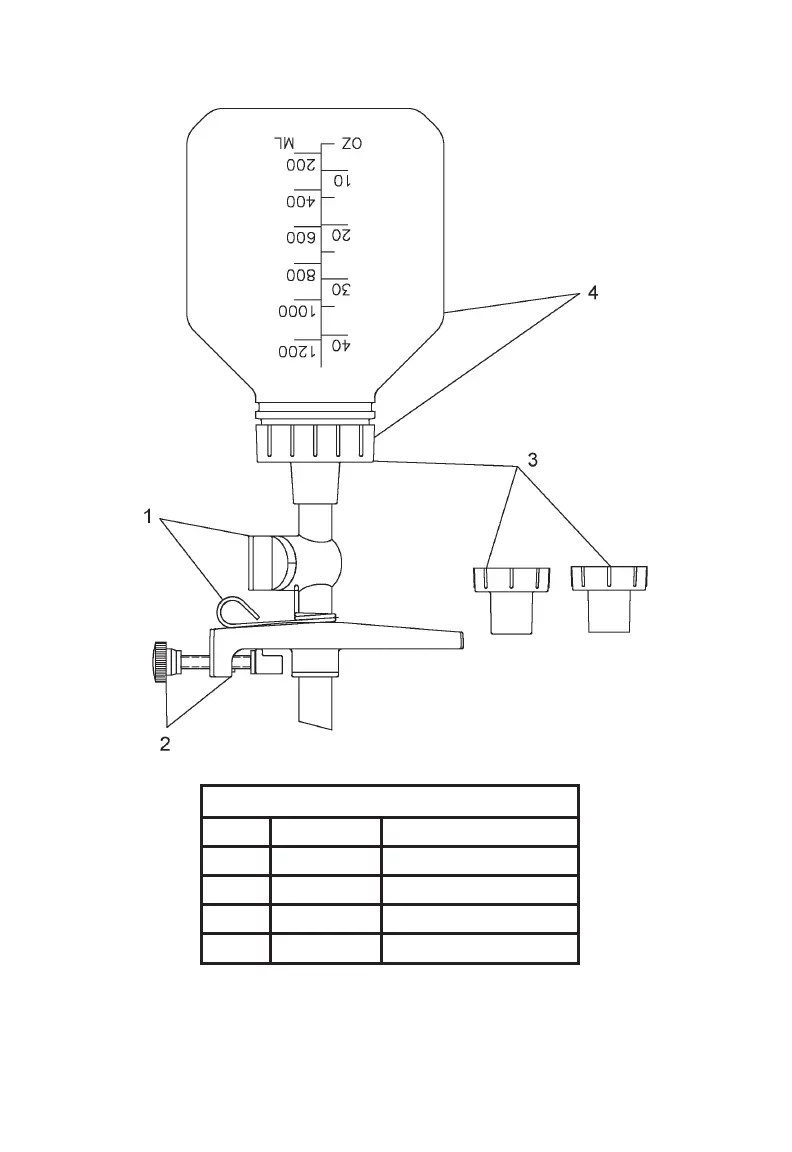
Seite - 22
Formular 823530
Modell MVA6832 Wartungsgerät
Posten Teilnummer Beschreibung
1 823560 Ventilsatz
2 823561 Auffüllvorrichtungssatz
3 823562 Deckelsatz
4 823563 Flaschensatz

Related product manuals