EasyManua.ls Logo

MobileVision MV100 - Extender Wireless Wiring and Mounting; Drilling and Wire Routing

Default Icon
20 pages
Print Icon
To Next Page IconTo Next Page
To Next Page IconTo Next Page
To Previous Page IconTo Previous Page
To Previous Page IconTo Previous Page
Loading...
10
MV2400 Extender Wireless Installation - Cont.
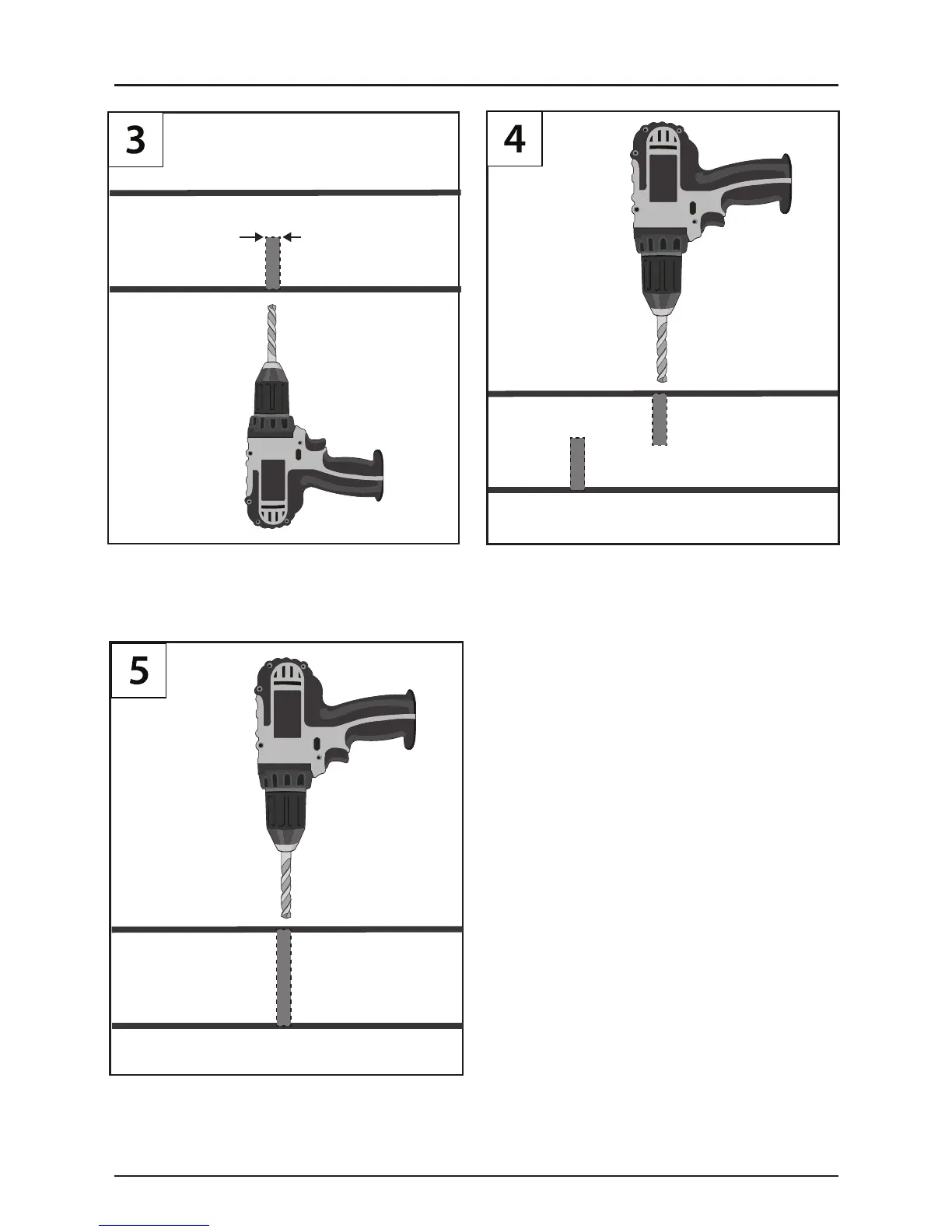
1/2”
After you have determined the location of the MV2400
Extender Housing on the roof, drill a 1/2” hole into the
RV ceiling to feed the 4 switch wires through.
Drill a 1/2” hole from the exterior roof where the
Extender Housing will be mounted over. This hole will
be used to route the power wires from the Extender
Switch to the MV2400 Extender in the housing.
If using one location for both holes drill one 1/2” hole
though the roof and the ceiling.
CAUTION - Before drilling from the
roof or inside, be sure that you
verified there are no obstacles in the
way on the inside or outside of the
RV such as ceiling lights, speakers,
air conditioners or wiring between the
interior ceiling and the exterior roof.
(Inside RV)
(Rooftop)
(Back Side of
RV Ceiling)
(Inside RV)
(Rooftop)
(Back Side of
RV Ceiling)
(Inside RV)
(Rooftop)
(Back Side of
RV Ceiling)