EasyManua.ls Logo

Mora VDP646X - Page 29

Mora VDP646X
60 pages
Print Icon
To Next Page IconTo Next Page
To Next Page IconTo Next Page
To Previous Page IconTo Previous Page
To Previous Page IconTo Previous Page
Loading...
8
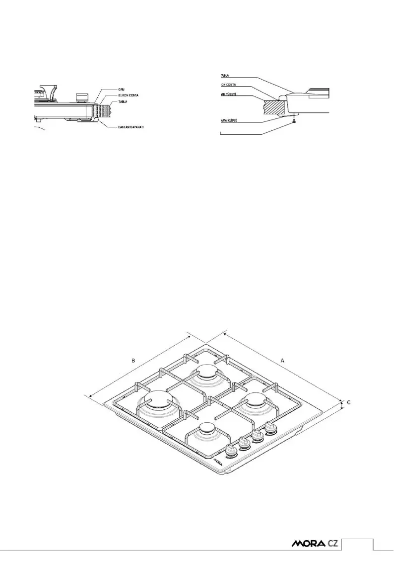
1. Sklo 5. Horní podložka
2. Silikonové těsnění 6. Silikonotěsnění
3. Podložka 7. Povrch desky
4. Připojovací aparát 8. Spojovací kolíky
9. Šroubek
Varná deska má těsnění, které zabraňuje úniku tekutin z dutin do spodní
části. Instalaci tohoto těsnění můžete provést podle obrázku výše. Otočte
varnou desku dnem vzhůru, odstraňte těsnicí pásku z pryže a přilepte ji k
varné desce: oba konce těsnění se musí vzájemně střetnout. Namontujte
připojovací aparát pomocí šroubku, jak je znázorněno v popisu 5.
Umístěte varnou desku do otvoru na kuchyňské desce.
Rozměry spotřebiče
A(mm)
B (mm)
C (mm)
VDP646X
580
510
41
Popis 6
1
2
3
4
5
6
7
8
9
Popis 7

Table of Contents