EasyManua.ls Logo

Movement IDEA - Page 112

Default Icon
129 pages
Print Icon
To Next Page IconTo Next Page
To Next Page IconTo Next Page
To Previous Page IconTo Previous Page
To Previous Page IconTo Previous Page
Loading...
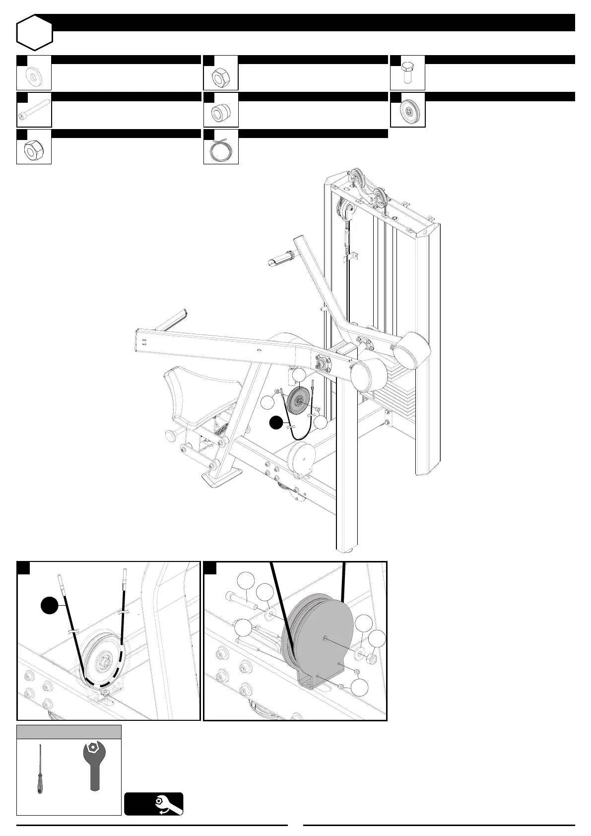
5
PASO 14
26
MONTAJE
5
Tuerca hexagonal - M10
NOMBRE Ctd
1x
2
Arandela lisa - M10
NOMBRE Ctd
2x
4
Tornillo Cab. Hexagonal
M10X60
NOMBRE
Ctd
1x
U
Cable de acero del brazos
NOMBRE
44
Polea
NOMBRE Ctd
1x
43
Buje
NOMBRE Ctd
2x
HERRAMIENTAS
100%
Llave
Philips
Llave fija
17 mm
U
222
1
4
2
5
2
45
42
Tornillo Cab. Cil. Hex. Int.
M10X60
NOMBRE
Ctd
2x
46
Tuerca hexagonal Nylon
M5
NOMBRE
Ctd
2x
46
U
43
43
44

Related product manuals