EasyManua.ls Logo

Movement IDEA - Page 69

Default Icon
129 pages
Print Icon
To Next Page IconTo Next Page
To Next Page IconTo Next Page
To Previous Page IconTo Previous Page
To Previous Page IconTo Previous Page
Loading...
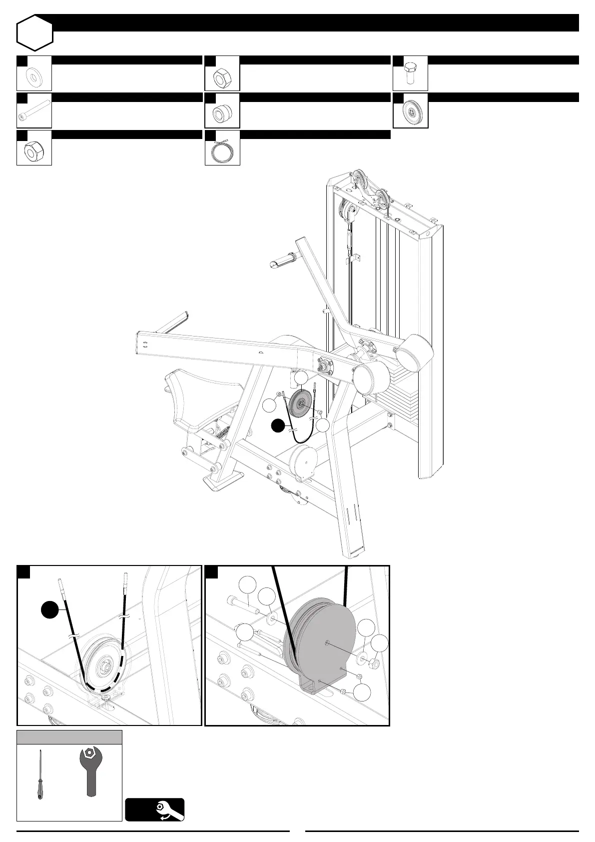
5
STEP 14
26
ASSEMBLY
5
Hex nut - M10
NAME Qty
1x
2
Flat washer - M10
NAME Qty
2x
4
Hex head screw
M10X60
NAME
Qty
1x
U
Arm steel cable
NAME
44
Pulley
NAME Qty
1x
43
Bush
NAME Qty
2x
TOOLS
100%
Philips
wrench
Fixed Wrench
17 mm
U
222
1
4
2
5
2
42
46
42
Screw Hex. Socket Cyl. head
M10X60
NAME
Qty
2x
46
Hex Nut Insert
M5
NAME Qty
2x
U
43
43
44

Related product manuals