EasyManua.ls Logo

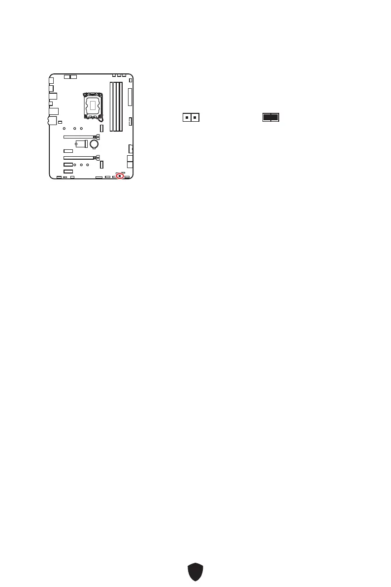
MSI PRO Z790-S WIFI - Jci1: 섀시 침입 커넥터

MSI PRO Z790-S WIFI
387 pages
To Next Page IconTo Next Page
To Next Page IconTo Next Page
To Previous Page IconTo Previous Page
To Previous Page IconTo Previous Page
Loading...
33
󻻲󼃎󼱚󼕷󼳖󺼗󼼢
󼕦󼳖󺼗󼼢󻝮󻺞󼒛󽍊󼏞󻻲󼃎󼱚󼕷󼂖󼓶󼱊󼳲󼕦󻰆󼔶󼏢󺪢󽍒󼀊󼕺󼂧󻂺󻃖
󽉎󼛲󻺳󼻎
󺰢󻫪󻼖󼘇
󻻲󼃎󼱚󼕷󼕦󻪖󽂪
󽂪󻞞󺩢
󻻲󼃎󼱚󼕷󼻂󼞲󺰢󻺞󼒛󽍊󺰢
1. JCI1󻻲󼃎󼕊󻻲󼃎󼱚󼕷󼂖󼓶󼱊󻼮󻼎󼏂󼏢󺪢󽍛󻂺󻃖
2. 󻻲󼃎󼳖󻩶󻝮󻃝󼂧󻂺󻃖
3. BIOS > SETTINGS > Security > Chassis Intrusion Configuration󼔮󻙎󼕦󻇋󽍛󻂺󻃖
4. 󻻲󼃎󼱚󼕷󽍟󻢛󼔶󻺞󼒛󼔮󻙎󻼖󼘇󽍛󻂺󻃖
5. F10󼺖󻝮󺿾󻗞󼗲󼖗󽍊󺫒Enter󼺖󻝮󺿶󻝪󽒶Yes󻝮󻼒󼻏󽍛󻂺󻃖
6. 󻻲󼃎󼳖󻩶󺧲󻃖󼃎󼏦󻞞󻡦󼳦󽋚󼼢󻝮󼴖󻌾󼌾󻕾󻡆󼃎󼞲󺧲󽑆󻡦󼏂󺺊󼺲󺺛󻂺󻃖
󻻲󼃎󼱚󼕷󼌾󻕾󼖞󻼖󼘇󽍊󺰢
1. BIOS > SETTINGS > Security > Chassis Intrusion Configuration󼔮󻙎󼕦󻇋󽍛󻂺󻃖
2. 󻻲󼃎󼱚󼕷󼔶󻞞󻼽󼔮󻙎󻼖󼘇󽍛󻂺󻃖
3. F10󼺖󻝮󺿾󻗞󼗲󼖗󽍊󺫒󼺖󻝮󺿶󻝪󽒶Yes󻝮󻼒󼻏󽍛󻂺󻃖

Table of Contents

Related product manuals