EasyManua.ls Logo

MSW CRF16-35W - Page 74

MSW CRF16-35W
Print Icon
To Next Page IconTo Next Page
To Next Page IconTo Next Page
To Previous Page IconTo Previous Page
To Previous Page IconTo Previous Page
Loading...
Avant la première utilisation, nettoyer l'intérieur de la glacière avec un chiffon
humide imbibé d'eau tiède et d'un détergent alimentaire doux, comme du liquide
vaisselle ou un peu de bicarbonate de soude. Essuyer l'intérieur avant de l’utiliser.
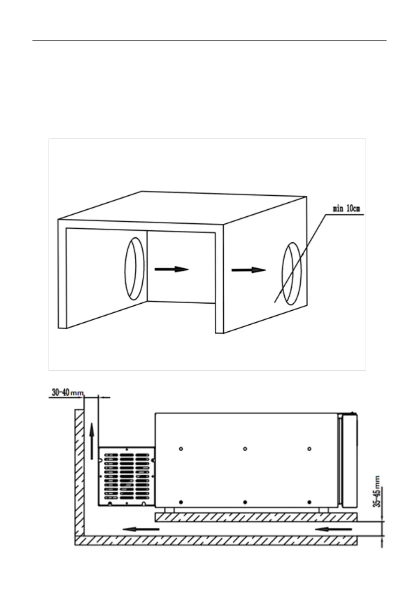
MONTAGE DE L'APPAREIL
L'appareil est conçu pour une installation permanente, cependant, lors de son
installation, il est nécessaire de tenir compte des distances minimales par rapport
à un mur donné et du flux d'air environnant.

Table of Contents

Related product manuals