EasyManua.ls Logo

MULTIQUIP QP-2TH - Page 58

MULTIQUIP QP-2TH
70 pages
Print Icon
To Next Page IconTo Next Page
To Next Page IconTo Next Page
To Previous Page IconTo Previous Page
To Previous Page IconTo Previous Page
Loading...
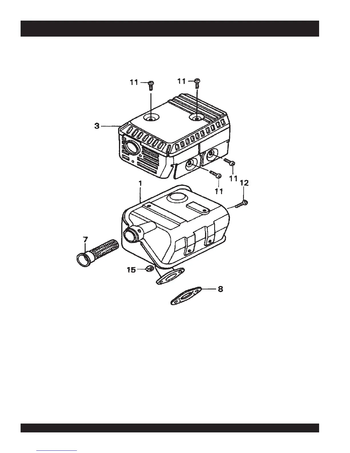
PAGE 58 — QP-2TH TRASH PUMP — PARTS MANUAL — REV. #1 (12/02/04)
MUFFLER ASSY.
HONDA GX160K1QX2 ENGINE — MUFFLER ASSY.