EasyManua.ls Logo

NAD 106 - Page 5

NAD 106
14 pages
Print Icon
To Next Page IconTo Next Page
To Next Page IconTo Next Page
To Previous Page IconTo Previous Page
To Previous Page IconTo Previous Page
Loading...
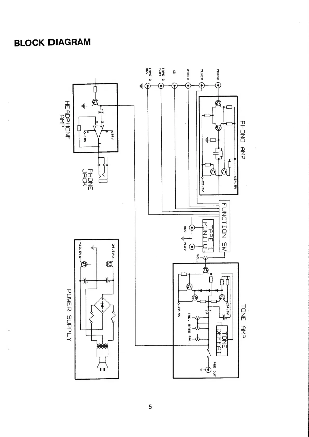
BLOCK
DIAGRAM
TAPE
2
PLAY
TAPE
2
REC
PHONO
AMP
HE
ADP
HONE
AMP
FUNCTION
SW
TONE
AMP
POWER
SUPPLY

Other manuals for NAD 106

Related product manuals